緊湊型直行程液壓伺服執行器工作原理

2009-05-24 朱小明 上海豪高機電科技有限公司

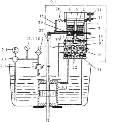
         緊湊型直行程液壓伺服執行器的工作原理如圖1所示。由電機驅動油泵經過過濾器和自帶反饋裝置的伺服閥把液壓油送到油缸, 實現活塞桿的伸出或收回動作。當達到所需的控制位置時, 多余的液壓油將通過可調節的溢流閥流回油箱。從控制器來的電輸入信號(可以是電流信號, 也可以是電壓信號) 作用在電液伺服閥的電磁線圈上, 此時系統作用一個力在銜鐵上, 使其偏離中心位置。擋板連接著銜鐵, 由此可在噴嘴之間形成不相等的間距。高壓油流通過節流孔從噴嘴噴出供油。由于銜鐵偏離了中心位置而帶動主閥芯移動, 使得液壓油流進或流出油缸。

緊湊型直行程液壓伺服執行器工作原理

2.1 電機 3.1 油泵 5.1 油缸 6.1 伺服閥(2a. 反饋彈簧 6. 銜鐵 7. 電磁線圈 9. 節流孔 13. 噴嘴 14. 擋板 27.反饋桿 29. 連接裝置)7.1 溢流閥 10.1 過濾器 12.1 壓力表

圖1  緊湊型直行程液壓伺服執行器工作原理

         油缸的動作被傳遞到控制部件, 也通過反饋桿和連接裝置傳遞給伺服閥。反饋彈簧因此被拉緊或放松, 從而作用一個與輸入信號產生效果相反的力在銜鐵上。當閥桿到達新的位置時, 作用在銜鐵上的力平衡了, 擋板回到噴嘴中間, 活塞桿和閥桿便停止運動。執行機構的直線輸出位移與輸入信號成比例關系。

         由于受到結構的限制, 緊湊型直行程液壓伺服執行器的推力一般為1500~200000N , 行程為20~120mm, 速度為2~40mm/s。緊湊型直行程液壓伺服執行器適合于各類控制閥門

其它相關文章:

常用的三種閥門液壓伺服執行器的結構特點

緊湊型直行程液壓伺服執行器工作原理

緊湊型角行程液壓伺服執行器的工作原理

標準型液壓伺服執行器的工作原理