常用的三種閥門液壓伺服執行器的結構特點

2009-05-24 朱小明 上海豪高機電科技有限公司

         閥門液壓伺服執行器是用來自動控制閥門開度的驅動裝置, 根據其控制方式可以分為直行程液壓伺服執行器和角行程液壓伺服執行器。直行程液壓伺服執行器的輸出是直線位移, 角行程液壓伺服執行器的輸出是角度位移。根據其結構形式可以分為緊湊型液壓伺服執行器和標準型液壓伺服執行器,緊湊型液壓伺服執行器是液壓元附件高度集成的結構形式, 標準型液壓伺服執行器則是采用標準液壓元附件進行組合的結構形式。閥門液壓伺服執行器接受到某一電信號時, 將其轉換成與輸入信號相對應的直線或轉角位移, 自動地調節閥門的開度, 實現工業過程的自動調節。

緊湊型直行程液壓伺服執行器

緊湊型直行程液壓伺服執行器工作原理


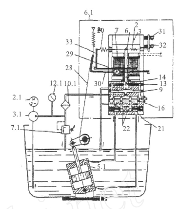
       緊湊型直行程液壓伺服執行器的工作原理如圖1 所示。由電機驅動油泵經過過濾器和自帶反饋裝置的伺服閥把液壓油送到油缸, 實現活塞桿的伸出或收回動作。當達到所需的控制位置時, 多余的液壓油將通過可調節的溢流閥流回油箱。

緊湊型角行程液壓伺服執行器

緊湊型角行程液壓伺服執行器

        緊湊型角行程液壓伺服執行器的工作原理如圖2所示。由電機驅動油泵經過過濾器和自帶反饋裝置的伺服閥把液壓油送到鉸接式油缸, 實現活塞桿的伸出或收回動作。當達到所需的控制位置時, 多余的液壓油將通過可調節的溢流閥流回油箱。

標準型液壓伺服執行器

        標準型液壓伺服執行器的工作原理。由電機驅動雙泵經過過濾器和伺服閥把液壓油送入油缸中, 實現活塞桿的伸出或收回動作。

其它相關文章:

常用的三種閥門液壓伺服執行器的結構特點

緊湊型直行程液壓伺服執行器工作原理

緊湊型角行程液壓伺服執行器的工作原理

標準型液壓伺服執行器的工作原理