先導式電磁閥的基本原理及結構特點

2020-04-25 真空技術網整理 閥門手冊

  先導式電磁閥是一種電磁力只作用于先導閥,主閥依據先導閥的指令,完全依靠介質壓差的作用而完成其動作功能的電磁閥。由于體積小、價格低,這類電磁閥在控制系統中應用最廣泛。先導式電磁閥由兩大組件組成,上部件為先導閥,下部件為主閥。先導閥和主閥間通過在閥蓋上的管道相聯系,并通過這種聯系用先導閥的動作來控制主閥的開關。

  先導電磁閥的特點是先導閥先動作,然后依靠管路壓差(閥前與閥后的壓差)完成主閥的開啟或關閉。先導式電磁閥具有先導閥行程短、電磁力小、耗電量低(功率小)、結構簡單緊湊、外形小、公稱尺寸范圍廣泛(DN6~500)等特點。

一、先導式二位二通電磁閥的結構及工作原理

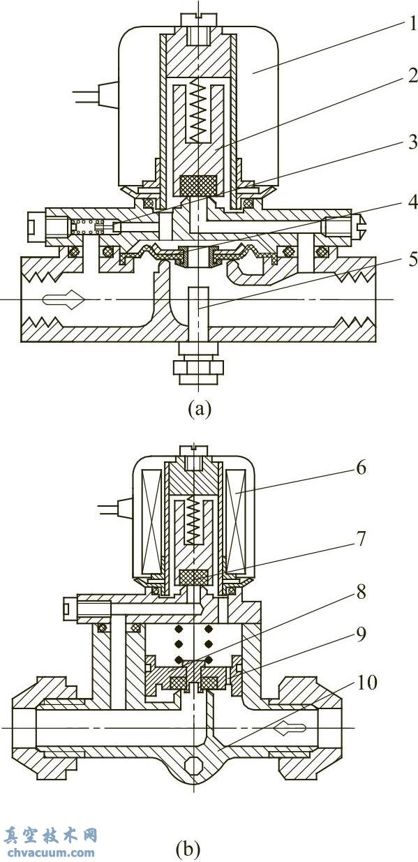
  先導式二位二通電磁閥(圖1)由兩大部分組成,上部件為先導閥,下部件為主閥,先導閥和主閥間通過在閥蓋上的管道相聯系,并通過先導閥的動作由介質的壓差控制主閥的開啟或關閉。

先導式二位二通電磁閥

圖1 先導式二位二通電磁閥

1,6—電磁頭;2,7—先導閥;3—節流孔;4—膜片; 5—手動裝置;8—活塞;9—平衡孔;10—閥體

  先導式電磁閥的主閥有膜片式和活塞式兩種結構,膜片結構較活塞結構價格低廉,不易磨損。但橡膠片易老化,有時性能不可靠,但膜片更換方便。

  當線圈通電,先導閥開啟,膜片或活塞(主閥)腔的工作介質由先導孔外泄到閥的出口端。一部分工作介質由平衡孔進入膜片或活塞腔,由于平衡孔進入的流量遠小于先導孔排出的流量,使膜片或活塞腔的介質壓力急劇下降。而膜片或閥塞下方的介質壓力仍維持不變與進口介質壓力相同。這樣膜片或閥塞的內外便有了壓力差。正是這種壓差,促使膜片或活塞克服自重與彈簧力而上提(上浮),使工作介質在管路內流通。

  當線圈斷電時,先導閥關閉,主閥腔的工作介質不能外泄,而進口來的工作介質仍從平衡孔不斷地涌入主閥腔內,導致活塞內外的壓力逐漸消失而趨于平衡。于是主閥靠自重和彈簧力迅速關閉主閥口,使管路內的工作介質切斷。

二、先導式二位三通電磁閥的結構及工作原理

  先導式二位三通電磁閥(圖2)同樣由先導閥組及主閥兩大部分組成。主閥的進口端有工藝通道使介質與先導閥相通。通過電磁線圈的通電與斷電,使先導閥控制主閥完成下面的功能:進口與工作口接通或關閉;工作口與排空口接通或關閉。

二位三通截止式電磁閥

圖2 二位三通截止式電磁閥

1—先導排空口;2—電磁頭;3—動鐵芯;4—手動裝置;5—先導口;6—閥盤組;7—閥體

  當電磁閥通電時,線圈產生電磁力,拉動鐵芯向上運動打開先導閥口,進氣口P端氣體進入閥盤組上腔,在壓差作用下,閥盤組向下運動關閉閥體上閥座口,即排空口O,同時打開主閥下閥座口,進氣口P與工作口A接通,工作介質由P口進入A口。

  當電磁閥斷電時,線圈電磁力消失,動鐵芯在彈簧力作用下向下運動關閉先導閥口,阻斷P口介質進入閥盤組上腔,在壓差作用下,閥盤組向上運動關閉主閥下閥座口,即進氣口P,同時打開閥體上閥座口,即排空口O,工作口A與排空口O接通,工作介質由A口進入O口。閥盤組上方的氣體由先導排空口排入大氣中。

三、先導式二位四(五)通電磁閥的結構及工作原理

  先導式二位四(五)通電磁閥(圖3)同樣由先導閥組和主閥兩大部分組成。

二位四(五)通先導電磁閥

圖3 二位四(五)通先導電磁閥

1—主閥;2—閥盤組;3—先導閥組

  單電控二位四(五)通先導式電磁閥的工作原理:電磁閥有一個進氣口P,有兩個工作口A和B,有兩個排空口S和R,P口有一工藝通道與先導閥相通。

  當電磁閥在斷電時進氣口P與工作口B相通,工作口A端的氣體由排氣口R排出;當電磁閥在通電狀態時進氣口P與工作口A相通,工作口B端的氣體由排氣口S排出。二位四通電磁閥的排空口是共用一個排空口。