軸流式止回閥的結構原理及性能特點

2020-04-28 真空技術網整理 閥門手冊

  軸流式止回閥于1930年開發出來。它的開發是受接近于理想的設計要求的啟發:一個止回閥能夠滿足于不同的應用工況中具有最大可靠性與最小維護運行成本。經過多年的應用,軸流式止回閥已經極好地證實了其可靠性和滿足多種工況的能力,應用在很多嚴格場合。

  軸流式止回閥的閥體內腔表面、導流罩、閥瓣等過流表面應有流線形態,且前圓后尖。流體在其表面主要表現為層流,沒有或很少有湍流。

  軸流式止回閥除具有一般止回閥的功能外,它還設計有減震彈簧,其硬密封帶軟密封的組合式閥座密封結構具有消聲、減震效果,便于用戶現場檢修,獨特的軸流梭式結構具有流阻小、流量系數大、外形尺寸小等優點,是國內外油氣集輸管網系統特別是輸油泵出口的優選閥門。它適用于油、氣、水漿液及含H2S+CO2酸性腐蝕性介質等管道系統,控制介質逆流使用。

  軸流式止回閥在結構上采用了軸流梭式結構,其閥瓣安裝有緩沖減震彈簧,當介質順流時,閥瓣打開,介質通過閥體軸流式通道流通,介質推開閥瓣時,彈簧起到了緩沖效果,避免了普通止回閥開啟時閥瓣與閥體之間的撞擊振動。當介質逆向流動時,閥瓣快速關閉,閥瓣與閥座緊密貼合,阻止介質逆向流動。組合式硬密封帶軟密封的閥座結構能有效地降低閥瓣與閥座貼合時的沖擊噪聲。該類止回閥是流體集輸管網防止介質逆流,消除噪聲、振動的理想產品。

一、軸流式止回閥的類型

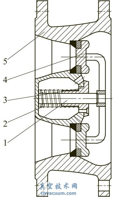
  軸流式止回閥根據其閥瓣結構形式不同可以分套筒形、圓盤形、環盤形等多種形式,其基本結構形式見圖1~圖3。

套筒形軸流式止回閥

圖1 套筒形軸流式止回閥

1—固定螺桿;2—彈簧;3—導向套; 4—閥座;5—閥體

圓盤形軸流式止回閥

圖2 圓盤形軸流式止回閥

1—閥體;2—閥座;3—閥瓣;4—彈簧; 5—固定螺桿;6—導流罩

環盤形軸流式止回閥

圖3 環盤形軸流式止回閥

1—閥體;2—導向套;3—閥座;4—彈簧; 5—固定螺桿;6—閥瓣

二、軸流式止回閥的結構特點

  1、設計有減震彈簧,避免了普通止回閥開啟時閥瓣與閥體之間的直接撞擊產生振動和噪聲。

  2、閥座采用硬密封帶軟密封的組合式密封結構,具有消聲、減震效果,便于用戶現場檢修。

  3、結構緊湊、造型美觀、外形尺寸小。

  4、獨特的軸流梭式結構,流阻小、流量系數大。

三、軸流式止回閥的工作原理

  通過閥門進口端與出口端的壓差來決定閥瓣的開啟和關閉。當進口端壓力大于出口端壓力與彈簧力的總和時,閥瓣開啟。只要有壓差存在,閥瓣就一直處于開啟狀態,但開啟度由壓差的大小決定。當出口端壓力與彈簧彈力的總和大于進口端壓力時,閥瓣則關閉并一直處于關閉狀態。由于閥瓣的開啟與關閉是處于一個動態的力平衡系統中,因此閥門運行平穩,無噪聲,水錘現象大大減少。

  如果流體流速壓力無法將閥門支撐在一個較大的開啟度并保持在穩定的開啟位置,則閥瓣和相關的運動部件可能會處于一種持續振動的狀態。為了避免出現運動部件的過早磨損、噪聲或振動,就要根據流體狀態選擇止回閥的通徑。

  軸流式止回閥的閥瓣重量輕,可減小在導向面上摩擦力,回座迅速。小質量低慣性的閥瓣經過一個短的行程并以極小的沖擊力接觸閥座面。這樣能減輕閥座密封面遭到損壞,防止造成閥座泄漏。

  軸流式止回閥關閉迅速,無撞擊,質量小、慣性低的閥瓣經過一個短的行程并以極小的沖擊力接觸閥座面,能保持閥座密封面的良好狀態,避免損壞。更重要的是,它能最大程度降低壓力波動的形成,保證系統安全。