帶位置指示器的核級旋啟式止回閥

2009-10-30 周湘君 沈陽閥門研究所

1、概述

  帶位置指示器的核級旋啟式止回閥是用于核電站系統管理中防止介質倒流,起到限制流體意向流動作用.該閥設有閥瓣開度指示器及閥瓣防爆行程開關遠程指示器,以便于工作人員觀察閥瓣的開關位置及管路介質流動的變化,達到保護系統和設備的目的,使系統能完成各項預定功能.

2、設計參數

  壓力等級:900磅級(特殊級別)

  公稱通徑:3-8 IN

  工作壓力:14.8MPA

  工作溫度:66度

  安全等級:核1級

  質保要求:QA1

  承壓件設計使用壽命:30a

  工作介質:除鹽水

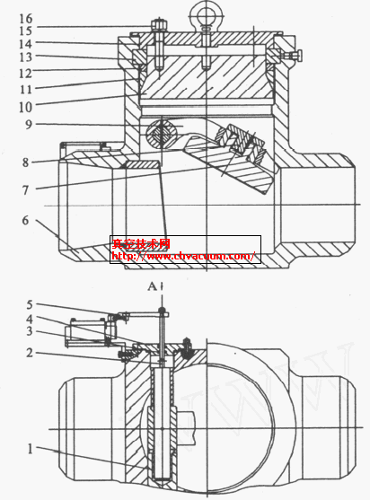
3、結構特點

  帶位置指示器的核級旋啟式止回閥由閥體,閥瓣,閥座,搖桿,O型圈,行程開關,指示牌等組成。

帶位置指示器的核級旋啟式止回閥

帶位置指示器的核級旋啟式止回閥

  3.1、閥體,閥蓋和閥瓣采用ASTM 105鍛件結構.因為鍛造的金屬晶粒組織致密均勻,不存在由于鑄造產生的氣孔,疏松,大尺寸圓夾雜和柱狀組織等缺陷,綜合機械性能較好,應力集中區域材料呈流線型,抗高溫蠕變和疲勞能力較高,材料和利用率高.鍛件使閥門結構緊湊,質量較輕.與介質接觸的殼體內腔粗糙度小于6.3um,能盡量減少放射性介質的沾污.

  3.2、閥座和閥瓣密封面堆焊Stellite6硬質合金.堆焊后的密封面耐磨損,使用壽命長.密封面經過精加工后,表面精選度小于0.4um,密封性能有了可靠的保證.

  3.3、閥體與閥蓋連接采用內壓自緊密封結構,高壓時利用介質本身的壓力達到密封.低壓時依靠擰緊壓蓋上的螺栓,使內壓自緊密封具有足夠的預緊力,以便當閥內壓力不高時亦能能達到密封.該結構較之于中法蘭螺栓連接,縮小了外形尺寸,減輕了質量.拆卸和更換方便,密封性能可靠.

  3.4、在閥門體外側設有閥瓣開度指示牌和防爆行程開關,軸上設有指針與撥叉.指針與撥叉在軸的帶動下一起旋轉,閥瓣與軸通過銷連接.指針能指示閥瓣的開度位置,防爆行程開關能在閥門開關位置狀態時發出信號.

  3.5、軸與壓蓋之間的密封采用橡膠O形圈密封,軸的材料選用2Cr13,O形圈材料選用氟橡膠(FRM),FRM使用溫度達到120度以上,使用壓力達到32MPA.其具有結構緊湊,密封性能可靠和摩擦力小等特點.