不銹鋼波紋管真空截止閥的結構與工作原理

2020-04-26 真空技術網整理 閥門手冊

一、外壓式不銹鋼波紋管真空截止閥

  外壓式是指波紋管內腔壓力低于外腔壓力的閥門結構類型。這類閥門根據波紋管組件的裝配情況可分為兩種。

  1、波紋管組件不可拆卸的真空截止閥。波紋管上端與閥針相接,下端與閥體相接。由于真空度低,工作溫度也不高,通常可采用滾焊方式連接。閥門的啟閉是借助閥蓋與閥針的螺紋螺距差來完成的。

  為了防止波紋管扭曲,在閥針與閥蓋之間裝有防扭螺釘,這種結構的優點在于省去了閥體與閥蓋之間的一道密封,結構簡單,成本低廉,但是波紋管組件的不可拆卸也給閥門的現場維修造成一定的困難,當波紋管損壞時,常常造成整個閥門報廢。

  2、波紋管組件可拆卸真空截止閥。它與之前一種結構相比,主要區別在閥體與閥蓋之間增加了一個閥蓋接頭,因而波紋管下端可以直接滾焊在接頭上,不再與閥體相焊接。當波紋管或密封面損壞時,就可進行單件維修而不需要報廢整個閥門。但是,增加閥蓋接頭也帶來另一方面的問題,即產生了閥蓋接頭與閥體之間的密封問題。

  上述兩種真空截止閥由于受到波紋管組件結構性能的限制,都不能使用于高真空系列。實際上,如果波紋管組件設計得當,閥門的使用范圍就可擴大。國內外許多閥門廠家都在向這一方向努力,取得很好的研究成果并能滿足高真空的要求。

  該組件中的波紋管上、下端都與上、下接頭相連,并用氬弧焊焊接。這既可提高閥門的使用溫度,也可提高閥的氣密性。該組件的特色在于它的下接頭,它是一只圓環,能與外側的壓環相焊,組成多種用途的體蓋密封結構。

二、內壓式不銹鋼波紋管真空截止閥

  1、內壓式超高真空截止閥

  以1Cr18Ni9Ti為主要材質,以金(Au)作為法蘭連接處的密封襯墊,主要用于1×10-10Torr(1Torr=133.322Pa)的超高真空系統中,并具有良好的耐腐蝕性能。閥門的總漏氣速率小于10-10Torr·L/s,關閉后,密封面任何一邊暴露于大氣時,靜止漏率均可小于1×10-10Torr·L/s,在450℃的高溫烘烤溫度下,漏率仍不超過這個指標。

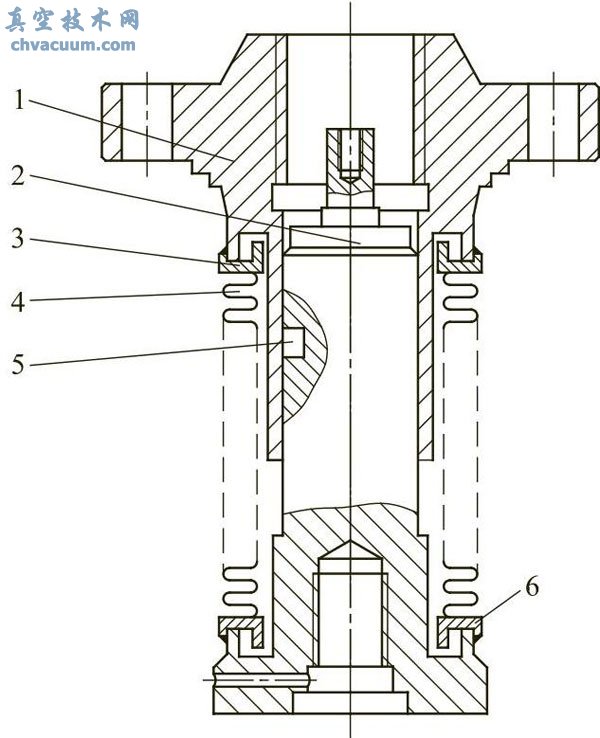
  該閥的閥桿波紋管組件如圖1所示,波紋管4兩端分別與內、外襯環6和3采用氬弧焊焊接,上端的外襯環3與閥蓋1焊接,下端的內襯環6與閥桿2焊接,波紋管的外表面暴露于真空系統,內表面與大氣相通,因而,波紋管組件承受內壓作用。組件制成后,應按對閥體的同樣要求,通過氦氣探漏。

內壓式超高真空截止閥波紋管組件

圖1 內壓式超高真空截止閥波紋管組件

1—閥蓋;2—閥桿;3—外襯環;4—波紋管; 5—銷釘;6—內襯環

  該閥的閥瓣也以金制成,閥瓣與閥座采用刀口密封,并取不同的硬度值,因而,閥門不僅具有良好的氣密性,還可有效地防止冷焊現象的發生。

  2、波紋管-填料雙密封式不銹鋼真空截止閥

  波紋管是一種薄壁元件,單層壁厚通常不超過0.25mm,最薄的只有0.10mm,是整個閥門中最為薄弱的環節。波紋管密封雖然具有很好的密封性能,但是波紋管在成形過程中的壁厚不均勻性、蝕點以及在閥門制造過程中的微小焊接缺陷等一系列因素都有可能在運行過程中使之產生破裂事故。

  因此,在危險性很大的應用場合,往往采用波紋管-填料雙密封結構,即用波紋管作為第一道密封,填料作為第二道密封,以進一步提高閥門密封的可靠程度。目前,這種結構在核工業、化學工業等部門中已經被廣泛采用。這種閥在結構上的另一個特點是將閥桿傳動螺紋置于填料密封的保護下,從而有效地改善了傳動螺紋的工作條件,并給更換填料提供了方便。