某型飛機加輸油控制閥的優化設計

2014-08-25 王占勇 海軍航空工程學院

  燃油系統是飛機的一個龐大而且復雜的系統,針對某型飛機時常出現滿油和滿油告警燈亮的故障現象,該文從加輸油控制閥的故障現象、結構、工作原理入手,詳細分析了導致滿油故障的根本原因。在此基礎上,提出了一套具體的設計方案,給出了圓柱彈簧結構參數的優化設計,并通過實際應用驗證了該方案的有效性和可靠性,為改進和優化燃油系統設計提供了新思路和方法。

引言

  飛機上各組油箱燃油的消耗是按確定的順序進行的,在各組油箱依次輸往主組油箱的同時,發動機供油泵將主組油箱的燃油統一供往發動機使用。根據作戰需要,要求飛機必須優先使用副油箱的燃油。副油箱組油箱是由兩個左右機翼副油箱和一個機身副油箱組成,其輸油順序為先機翼副油箱后機身副油箱,副油箱的燃油是靠增壓空氣為動力經加輸油控制活門控制協調后輸往主組油箱的。然而,該型飛機在安裝副油箱后進行地面試車和空中飛行時, 時常發生滿油和滿油告警燈亮的故障。該故障呈多發性且難以排除,故障后會引起所有輸油泵停止工作并可能損壞輸油控制系統,已引起相關部門高度關注。

1、故障現象

  某型飛機懸掛3 個副油箱加滿油后, 進行地面試車檢查和飛行過程中, 在機翼副油箱輸油油盡信號燈亮時,發生主油箱滿油和滿油告警燈亮現象,部分燃油從安全活門和加油通氣活門處溢出, 當機身副油箱接替輸油時輸油控制系統恢復正常; 待到機身副油箱油盡時,機身、機翼副油箱油盡信號燈反復閃亮,此時又出現主油箱滿油和滿油告警燈亮的故障現象。

2、工作原理

2.1、組成與功用

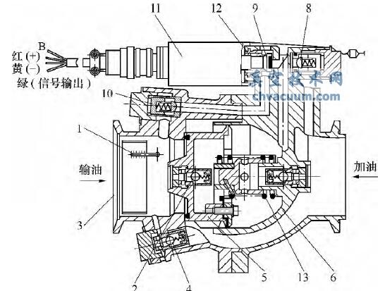
  加輸油控制活門是飛機控制副油箱加油和輸油的核心附件,全機共3 臺。機翼副油箱2 臺,機身副油箱1臺。圖1 為加輸油控制活門結構剖面圖,圖中下部為機械控制部分,上部為電氣控制部分,輸油入口處有一個比較靈敏的電容信號感應器1,遇燃油就接通電氣控制部分電路,遇壓縮空氣就斷開電氣控制部分電路。其功用是通過活門的打開和關閉, 實現對以增壓空氣為動力的副油箱的壓力加油與輸油控制, 輸完油后關閉活門并且發出油盡信號。

2.2、工作原理

  其原理是當壓力加油時,雙線圈加油電磁鐵11 通電,電磁活門9 打開,燃油從加油入口直接作用在活門5 的外環,同時部分燃油通過加油引壓單向活門7 進入活門內腔,并經過電磁活門9 和加油泄壓單向活門10,泄到加油出口, 大活門5 在外環加油壓力作用下克服大活門彈簧13 的力向右移打開,實現壓力加油。副油箱加滿油時,滿油信號器發出斷電信號,加油電磁鐵11斷電,大活門5 左移關閉,停止加油。

加輸油控制活門結構圖

1-電容信號器2-輸油引壓單向活門3-左殼體4-排氣單向活門5-大活門6-右殼體7-加油引壓單向活門8-輸油泄壓單向活門9-電磁活門10-加油泄壓單向活門11-電磁閥12-電磁活門彈簧13-大活門彈簧

圖1 加輸油控制活門結構圖

  增壓輸油時, 存留在輸油入口管路的氣體在增壓壓力作用下,由排氣單向活門4 排出,燃油從輸油入口端進入加輸油控制活門并作用在大活門5 上, 電容信號器1 感受到燃油后,向雙線圈輸油電磁鐵11 發出通電信號,電磁活門9 通電打開,燃油從輸油引壓單向活門2 進入活門腔的燃油經過電磁活門9 推開輸油泄壓單向活門8 流入輸油出口,活門腔泄壓。大活門5 在增壓的煤油壓力作用下克服活門大彈簧13 的力打開,實現輸油。當輸油完畢后,增壓空氣進入輸油口,電容信號器1 感受到空氣后, 發出油盡信號, 切斷電磁鐵11的電源,電磁活門9 關閉,活門腔建壓,大活門5 關閉,停止輸油,實現了油盡斷氣。

3、原因分析

  根據飛機副油箱組加油控制正常、輸油控制出現功能失效的故障特點和加輸油控制活門工作原理,判斷副油箱輸油油盡時造成主組油箱滿油和滿油告警燈亮的故障部位, 應該在加輸油控制活門的輸油控制部分,而與加油控制部分無關。大活門5 是加輸油控制活門的執行機構, 加輸油控制活門的可靠性直接體現在大活門5 是否可靠打開與關閉。因此,大活門5 的關門力的大小是副油箱輸油油盡時大活門能否及時關閉的關鍵。

  忽略大活門的重量在中心軸線方向的分力和活門的摩擦力,大活門穩定全開工作狀態時,其受力情況如圖2c 所示,關門力等于開門力,大活門的力平衡方程為:

p進A=p出A+T 彈=p出A+X(F1+F)

  式中F1———大活門關閉時彈簧的預壓量;

  X———大活門彈簧的倔強系數;

  F———大活門全開時活動距離;

  A———大活門的有效作用面積。

  由于加輸油控制活門的結構尺寸是確定時,在p 出、p 進相對穩定的條件下, 大活門關門力的大小主要取決于大活門關閉時大活門彈簧13 的預壓量F1和彈簧倔強系數X(或者全開預壓量F2)。

  在對活門分解后經測量可知,活門大彈簧13 在大活門關閉狀態預壓力為0.48kgf, 全開狀態彈簧力為0.82kgf。顯然,從活門關閉的可靠性方面考慮,該活門大彈簧的預壓力和剛度均偏小。這種設計會導致活門打開容易、關閉難,作為執行機構的大活門在電容傳感器發出油盡電信號、電磁閥斷電后,大活門5 關閉的跟隨性較差,不能立即關閉,導致副油箱增壓空氣大量涌入主組油箱內, 使主組油箱出現滿油和告警燈亮的故障。這從現場試車人員的感覺上得到驗證,似乎加輸油控制活門沒有能夠及時關閉, 沒有發揮出輸油時遇油通、逢氣斷的功能。

  因此導致飛機副油箱輸油油盡時主油箱滿油故障的直接原因是:由加輸油控制活門的執行機構大活門5不能及時關閉造成的。應重新對活門大彈簧13 進行優化設計。

4、結論與建議

  綜上所述,飛機掛副油箱進行地面試車或飛行時,主組油箱出現滿油和告警燈亮的根本原因是飛機加輸油系統的核心控制附件加輸油控制活門可靠性低造成的。在飛機燃油系統的結構和安裝形式不改變的前提下,減少和消除該故障,應從大活門彈簧的優化設計方面入手給予解決。結論如下:在確保執行機構大活門5能正常打開的前提下,增加大活門彈簧13 的預壓量和剛度,可提高大活門輸油油盡時關門力。

  針對故障原因和實際驗證結果,建議如下:

  (1)將大活門彈簧的預壓力增大到12N,活門全開時的彈簧壓力確定為20N,這樣可明顯提高大活門5 關閉的可靠性,并有效減少活門關閉后的漏氣量;但活門彈簧改進后,在相同工作條件下,燃油通過加輸油活門的阻力會同時增大,這是相關聯的,但這個問題沒有影響到燃油系統的正常輸油。

  (2)對改進后對大活門的開關工作特性應在地面模擬臺上和飛機上進行相關技術驗證與測試。對一定的工作條件下的燃油阻力, 即進口壓力和流量一定時的活門進出口的壓力差,進行必要的修正,確定新的技術標準以適應改進后出現的活門阻力偏大的問題,確保加輸油控制活門能夠正常裝機使用。