固定式金屬波紋管球閥

2009-04-04 劉錫純 浙江華夏閥門有限公司

         金屬波紋管作為彈性密封元件,在閥門制造業中有著廣泛的應用,如波紋管閘閥波紋管截止閥等。波紋管結構將閥桿在填料函處的動密封轉化成閥桿在閥蓋處的靜密封,使閥門的密封更加安全可靠。但是,由于金屬波紋管只能承受拉伸和壓縮,而不能承受扭矩,因此,目前的應用還僅限于閥桿運動只作軸向升降而不發生徑向旋轉的閘閥、截止閥和安全閥等。根據實際需要,設計了閥桿沿徑向旋轉90°的波紋管球閥,該閥已獲得國家專利(專利號為ZL 20072004005) 。 

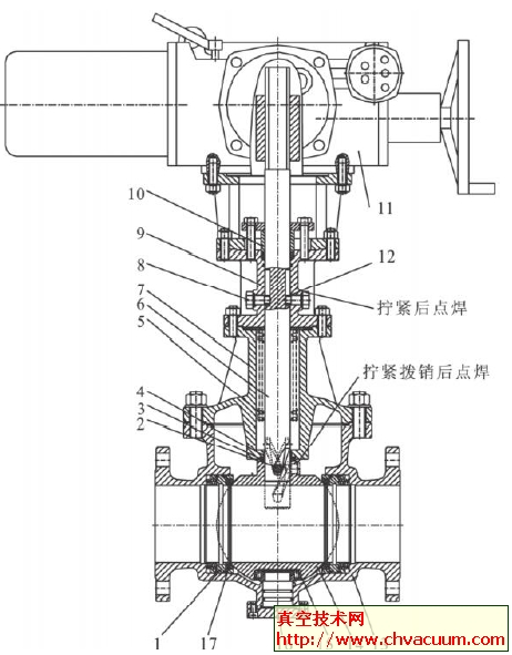
        波紋管球閥(圖1)的型號為150QB47F—40,驅動裝置為SMC—00多回轉電裝,每分鐘輸出轉數24圈。金屬波紋管耐壓4.0MPa, 波紋管內徑54.5mm、波紋管外徑78mm、波紋管行程53mm。波紋管和閥桿的下部采用氬弧焊接,焊縫必須焊透。波紋管的上部法蘭與石墨墊片、閥蓋和支架形成靜密封,使閥體中的介質和外部隔絕。閥體中的介質不因閥桿和填料函有間隙而泄漏。如果因特殊情況引起波紋管破裂,閥門上部的填料函還可起到應急作用。閥桿上部沿軸向加工2個直槽,撥銷使閥桿只能沿著軸向上、下移動而不能沿徑向轉動。閥桿下部加工2個螺旋槽,撥銷固定在球體上,撥銷可在螺旋槽內自由移動。球體坐落在圓錐滾子軸承上,減小球體對閥桿的摩擦扭矩。當閥門關閉時,閥桿由電動裝置帶動向下運動,閥桿的螺旋槽帶動球體上的撥銷使球體沿球的軸線轉動90°,球體轉到圖中虛線位置,球閥關閉。反之則球閥開啟。

波紋管球閥 

1密封支撐圈 2撥銷 3止推軸承 4軸套 5波紋管 6閥桿 7閥蓋 8防轉銷 9支架 10填料壓套 11電動裝置 12凸輪套 13閥體 14球體 15軸承 16固定軸 17密封圈

圖1 波紋管球閥

 

圖2 閥桿上的螺旋槽

螺旋槽設計

         在閥桿的下部面對面加工2個螺旋槽(圖2) 。螺旋槽開口尺寸和螺旋升角對閥門啟閉力和結構有直接關系。取閥桿直徑d = 50mm,螺旋槽升程h =50mm,螺旋槽寬H = 18mm,螺旋槽深t =10mm。螺旋槽的軸向升角λ為(圖3)

λ = arctgπd /4h = arctg3114 ×40 /4 ×50 = 32.1°

 

圖3 螺旋槽受力分析

     根據螺旋槽的軸向升角λ計算其啟閉力(圖3)Q為

        

         選用電動裝置時,考慮各種因素的影響,將啟閉球體的總力矩Mn 乘以系數113,求得參考總力矩

Mn ′=Mn ×113 = 284 925 ×113 = 370 403N·mm =370N·m。

        由計算結果確定電動裝置的輸出扭距為500N·m,轉速為24r/min,閥桿螺紋為Tr48 ×8HL,啟閉時間為50 ÷8 ÷24 =0126min。

        金屬波紋管球閥是將波紋管技術和軌道球閥原理相結合,設計生產出新結構的球閥。該閥適用于輸送有毒或有害介質,由于其流道近似于管子的一部分,流阻特別小,是一種高效節能的新產品。