閥門壓力試驗的質量控制

2014-03-25 白金亮 長慶油田公司

  論述了試驗人員、采用標準、試驗設備和試驗方法等是影響壓力試驗質量的主要因素,提出了相應的質量控制措施。

1、概述

  閥門的壓力試驗包括殼體試驗和密封試驗,其目的是檢驗閥門承壓部件的強度和嚴密性。在試驗過程中,通過觀察承壓部件有無明顯變形或破裂,驗證閥門是否具有設計壓力( 或公稱壓力) 下安全運行所必需的承壓能力,通過觀察閥體及連接處有無滲漏,檢驗閥門各部位的嚴密性。在對閥門壓力試驗過程中,如果試驗設備選型不當,操作程序不符合要求,將會嚴重影響閥門的檢驗質量,為閥門正常使用留下安全隱患。

2、分析

  2.1、檢驗人員

  人員因素是試驗質量形成過程中的重要因素。檢驗人員必須做到嚴格按照檢驗標準,確保試驗壓力和保壓時間,遵循誰檢驗誰負責,誰簽字誰負責的原則開展檢驗工作。閥門檢驗人員還應了解閥門設計制造的相關知識,懂得閥門的結構和原理,熟悉材料的基本特性,明確閥門容易出現缺陷的薄弱部位和應力分布狀況,掌握相關標準條款的內容和內涵,積極思考,有的放矢,認真分析,做到不漏檢,不誤判。

  2.2、檢驗標準

  標準是檢驗工作和評定的依據,因標準規定技術參數的差異( 如試驗壓力和保壓時間) 往往得出不同的結論。如某閥門依據GB /T 13927 - 2008 的要求,閥門殼體壓力試驗為2. 4MPa,保壓時間為1min,未發現滲漏現象。但是,閥門按照GB 50540- 2009 的相關要求進行壓力試驗,殼體試驗壓力2. 4MPa,保壓不少于5min,在保壓2. 2min 后閥體出現了滲漏。

  目前,閥門壓力試驗使用的標準主要有GB /T13927 - 2008、GB 50540 - 2009 和SH 3518 - 2000等,其試驗壓力基本相同即為公稱壓力( 或最高工作壓力) 的1. 5 倍,但保壓時間相差較大( 表1) 。由于通徑與安全狀況存在一定關系,因此根據不同通徑規定不同保壓時間顯得更科學合理。另外殼體壓力試驗是超過最高工作壓力的抗拉強度試驗,如果閥門內存在微裂紋等缺陷,在拉應力作用下容易出現擴展現象,隨著保壓時間的延長,微裂紋擴展到表面而出現滲漏現象。閥體內裂紋性缺陷應嚴格控制,同時采用何種檢驗標準應根據閥門的類型和用途科學選擇。

  2.3、試驗設備

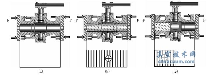
  閥門壓力試驗一般通過閥門試驗機完成。目前國內生產的閥門試驗機主要有抱卡式和頂壓式兩種。頂壓式是兩個密封板將閥門對頂形成預緊力并通過O 形圈實現密封。裝卡閥門前,先調整油缸壓力與試驗壓力相匹配( 一般閥門試驗機制造廠提供試驗壓力- 油缸壓力- 公稱通徑關系曲線) ,然后開始升壓到試驗壓力( 圖1) ,閥門在開始升壓前,閥體將受到較大壓應力,容易造成閥體變形和開口缺陷的自閉,甚至損壞閥門。

表1 閥門壓力試驗主要標準規定的試驗壓力、保壓時間以及試驗溫度

閥門壓力試驗主要標準規定的試驗壓力、保壓時間以及試驗溫度

頂壓式壓力試驗時閥體軸向應力分布

(a) 壓力試驗之前(b) 殼體試驗保壓期間(c) 密封性試驗

圖1 頂壓式壓力試驗時閥體軸向應力分布

  抱卡式試驗機通過三爪將閥門法蘭與密封盲板夾在一起,并通過O 形圈密封。裝卡閥門前,先調整油缸壓力與試驗壓力相匹配。閥門法蘭與密封盲板夾緊后,升壓之前,閥體應力為0,盲板受到閥體內部的推力,由于作用力與反作用力,閥門本體受到拉應力。密封試驗時,介質側受到拉應力,無介質側應力為0( 圖2) 。

抱卡式壓力試驗時閥體軸向應力分布

(a) 升壓之前(b) 殼體試驗(c) 密封試驗

圖2 抱卡式壓力試驗時閥體軸向應力分布

  根據試驗方式分析,頂壓式和抱卡式各有優缺點,特別是對閥體內的應力分布有明顯不同。采用頂壓式試驗機工裝結構簡單,裝卡方便,檢驗速度快,但閥體應力主要為壓應力( 軸向) ,容易掩蓋缺陷。采用抱壓式試驗機閥體應力主要為拉應力( 軸向) ,容易產生缺陷( 如微裂紋等) 。對于直徑較大閥門的壓力試驗,宜采用抱卡式,避免閥門因壓緊力過大造成損壞。閥門試驗機特別是頂壓閥門試驗機采用伺服系統,該系統可以根據試驗壓力自動調節壓緊力。

  2.4、環境溫度

  環境溫度也是影響閥門壓力試驗的重要因素,多數標準對壓力試驗的溫度作了明確規定。GB /T13927 - 2008 中規定,試驗介質的溫度應在5 ~ 40℃之間。工業閥門基本采用金屬材料制造,由于金屬材料在環境溫度較低時,易發生脆性破壞。當溫度接近材料的無延性轉變溫度( 金屬溫度由高到低下降時,金屬材料由塑性變形轉變為脆性破壞的溫度) 時,材料容易產生缺陷或破壞。因此閥門壓力試驗時,其環境溫度或介質溫度不宜低于5℃,對于低合金鋼不宜低于15℃。

  2.5、試驗方法

  殼體試驗時,閥門處于開啟狀態,無論從何方向引入介質,對試驗結果沒有太大的影響。密封試驗時,對于規定了介質流通方向的閥門( 如截止閥等) ,應按規定的流通方向加壓。對于止回閥,應按流向相反的方向引入介質并加壓。如果介質引入方向錯誤,容易造成閥門試驗結果錯誤或無法進行試驗。

  閥門上密封試驗時,閥門應處于全開狀態,使上密封關閉,給體腔充滿試驗介質,并逐漸加壓到規定的試驗壓力,然后檢查上密封性能。

  2.6、閥門內氣體

  在向閥門引入液態介質時,閥門內的部分氣體容易聚集于腔體的最高處或死角。GB /T 13927 -2008 規定,進行壓力試驗時,應排凈閥門體腔內的空氣。但實際試驗過程中,只有立式閥門試驗機可以設置排氣孔進行排氣,在臥式閥門試驗機上無法實現。當受檢閥門達到試驗壓力后穩壓階段時,其試驗壓力可能不斷下降,因此不能因為不能保壓而判斷閥門不合格,此時應分析其原因,檢查閥門外觀是否存在泄漏部位。

  2.7、試驗介質

  閥門壓力試驗所用的試驗介質通常循環使用。閥門內的油脂、鐵屑等雜物進入試驗介質,將會影響試驗機啟閉件( 換向閥等) 的密封性,造成無法穩壓,因此不能單憑不能穩壓來判斷閥門壓力試驗合格與否。為了消除試驗介質對試驗結果的影響,應定期更換試驗用水或進行水質處理,清除油脂和鐵屑等污物,定期清洗和更換過濾器、水路和啟閉元件,確保試驗質量。

  2.8、涂漆

  閥體表面涂漆的閥門,不僅容易造成外觀缺陷的漏檢,對壓力試驗也產生一定的影響。因為直徑較小的孔洞,如果用漆封堵,可以承受較高的壓力。在實際檢驗過程中的保壓期間,應注意觀察涂漆部位,如有突起,應剝開漆膜,檢查是否存在微孔等缺陷。

3、結語

  壓力試驗是閥門檢驗的重要內容之一,為了減少閥門壓力試驗不利因素的影響,應從人員、設備、方法及環境等方面,提升試驗人員的責任意識、技術素質和業務能力。只有正確選擇試驗設備的類型和加壓方式,加大試驗設備的維護保養,根據閥門的結構類型采用正確的操作方法,在標準規定的環境條件下進行壓力試驗,不斷探索閥門壓力試驗的新技術和新方法,確保試驗結果的準確性和真實性,才能不斷提高閥門質量檢驗的水平。