截止閥閥蓋的幾種連接方式

2020-04-19 真空技術網整理 閥門手冊

  截止閥的閥蓋與閥體的連接可用螺紋、法蘭、焊接,或借助于壓力自密封裝置,也可以把閥蓋和閥體做成一個整體而無須連接。

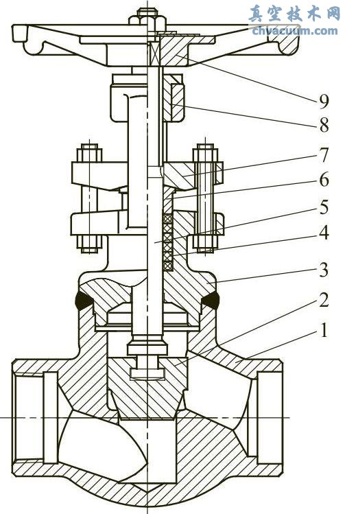
1、 螺紋連接閥蓋

  螺紋連接閥蓋(圖1)的結構較簡便,價格低廉。但是閥蓋的墊片與旋轉面緊密貼合,而放松或擰緊閥蓋很可能會破壞接合面,如果這種閥門尺寸較大,則擰緊閥蓋需要的轉矩就很大。因此,使用螺紋連接的閥蓋往外只限于公稱尺寸不大于DN80的閥門。

螺紋連接閥蓋截止閥

圖1 螺紋連接閥蓋截止閥

1—閥體;2—閥瓣;3—閥桿;4—閥蓋;5—填料; 6—填料壓套;7—螺套;8—手輪

  閥蓋也可以由單獨的螺紋環套與閥體連接,如圖2所示。這種結構的優點是其接合處被緊固,因此接合面不會發生相對移動。因此,即使頻繁地松緊閥蓋,也不易損傷接合面。同螺紋連接閥蓋一樣,用螺紋環套連接的閥蓋也只限于公稱尺寸不大于DN80的閥門。

帶螺紋的管套節連接閥蓋和閥體

圖2 帶螺紋的管套節連接閥蓋和閥體

  如果閥蓋由能夠焊接的材料制成,螺紋連接的閥蓋可以進行密封焊,如圖3所示。

進行密封焊的螺紋連接閥蓋截止閥

圖3 進行密封焊的螺紋連接閥蓋截止閥

1—閥體;2—閥瓣;3—閥蓋;4—填料;5—閥桿; 6—填料壓套;7—填料壓蓋;8—閥桿螺母;9—手輪

2、焊接連接閥蓋

  焊接連接閥蓋(圖4)結構不但經濟而且較為可靠,不受閥門尺寸、使用壓力和溫度的限制。但其不足是維護困難,只有車掉焊縫才能接觸到閥門內部。因此,焊接閥蓋通常僅用于長期無須維護的閥門、一次性閥門或對閥蓋連接處進行密封的難度大于解體閥門進行檢修的閥門。

焊接連接閥蓋的螺紋連接閥蓋截止閥

圖4 焊接連接閥蓋的螺紋連接閥蓋截止閥

1—閥體;2—閥瓣;3—閥蓋;4—填料;5—閥桿; 6—填料壓套;7—填料壓蓋;8—閥桿螺母;9—手輪

3、法蘭連接的閥蓋

  法蘭連接的閥蓋比用螺紋連接的閥蓋優越之處在于其緊定力可分布給所有的螺栓。因此法蘭連接的閥蓋可適用于任何尺寸和壓力級的閥門。但是,隨著閥門尺寸的增大和壓力的提高,這種結構的閥門的體積和重量就越來越大。當閥門工作溫度高于350℃(600℉)時,螺栓的承載能力會因蠕變松弛而大大降低。在使用要求苛刻的場合,法蘭連接也可以進行密封焊。

4、壓力自密封閥蓋

  圖5所示的閥門為壓力自密封閥蓋,這種結構通過介質壓力壓緊接合面,克服了其他結構重量大的缺點。而且隨著介質壓力的增加,閥蓋的密封會變得越來越緊。這種結構已成為高溫高壓的大型閥門優先使用的閥蓋連接方式。

壓力自密封閥蓋的直流式截止閥

圖5 壓力自密封閥蓋的直流式截止閥

1—閥體;2—閥瓣;3—閥桿;4—導向架;5—閥蓋; 6—密封環;7—填料;8—牽制環;9—卡箍; 10—導向塊;11—碟形彈簧;12—壓力平衡孔

  閥體和閥蓋連接處的壓力自密封結構,通過閥門內流體的壓力提供閥體和閥蓋的緊密密封。目前壓力自密封采用金屬密封環和復合密封環(柔性石墨+ 304不銹鋼絲)兩種。金屬密封環采用軟鋼并在外表面鍍銀,銀的塑性較好,容易填充密封面上的微觀孔隙,從而確保高壓下密封環的密封性能。

  在高溫及強烈腐蝕性介質下,金屬密封環可采用316不銹鋼表面鍍鉻,但該密封環易對和密封環接觸的閥體內壁造成磨損,為徹底解決這一問題,在閥體內腔與密封環接觸處堆焊Stellite合金,可有效防止因閥體磨損造成泄漏。為避免上述煩瑣的制造工藝,以及在高溫和溫度頻繁變化的場合,也可采用柔性石墨復合密封環,該密封環由柔性膨脹石墨和304不銹鋼絲組成,綜合了金屬密封環和柔性石墨的優點,取得了很好的密封效果,但在閥門維修后需要更換密封環。

  為確保閥門在壓力及溫度波動大的情況下,壓力自密封閥蓋還能保持密封性能,可以在閥蓋的緊固螺柱上加載碟形彈簧,使壓力自密封閥蓋具有動負載功能。

  在壓力或溫度不斷波動轉換的情況下,動負載閥蓋螺栓儲存了所需要的密封負載。動負載自動補償波動轉換中的變化,在壓力減少時,閥帽會產生運動,維持壓力密封墊圈上的正向負載。

5、無閥蓋連接形式

  小型截止閥可無須使用閥蓋連接,見圖6。通過填料函開口可以接觸到閥門內部,填料函開口的大小應足以使閥門部件通過。

無閥蓋連接形式截止閥

圖6 無閥蓋連接形式截止閥

1—閥體;2—閥瓣;3—填料;4—填料壓套;5—填料壓板;6—閥桿螺母;7—滾動軸承;8—手輪