截止閥閥體的基本形式

2020-04-19 真空技術網整理 閥門手冊

  截止閥閥體的基本形式有T形閥體,角式閥體和Y形閥體。

一、T形閥體

  T形閥體是最常用的,但是這種形式閥體的曲折流道產生的流阻是上述各形式中最高的。T形閥體具有低流動特性和較高的壓降。它們可以用于快速節流,如在繞過控制閥的旁路上。T形閥體也可以用于僅要求節流不考慮壓力降的場合。

  T形閥體的外形有三種結構,一種是歐洲的S形結構(圖1),一種是美洲的腰鼓形結構,即球心形(globe)結構(圖2),還有一種是電站上常用的Z形結構(圖3)。

S形結構的T形閥體截止閥

圖1 S形結構的T形閥體截止閥

1—閥體;2—閥瓣;3—閥瓣蓋;4—閥桿; 5—閥蓋;6—填料;7—填料壓蓋; 8—閥桿螺母;9—手輪

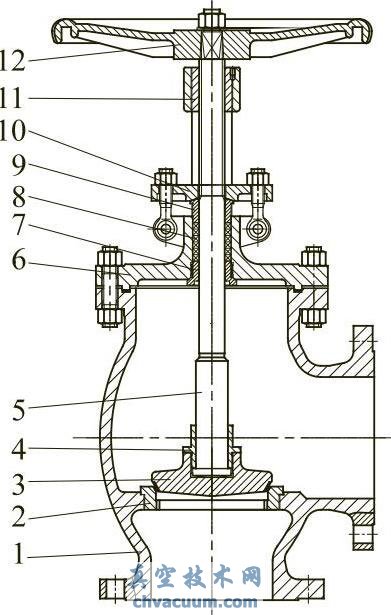
球心形(globe)結構T形閥體截止閥

圖2 球心形(globe)結構T形閥體截止閥

1—閥體;2—閥瓣;3—閥瓣蓋;4—閥桿;5—墊片; 6—閥蓋;7—上密封座;8—填料;9—填料壓套; 10—填料壓板;11—閥桿螺母;12—手輪

Z形結構的T形閥體截止閥

圖3 Z形結構的T形閥體截止閥

1—閥體;2—閥瓣;3—閥桿;4—填料墊;5—填料; 6—中填料;7—對開圓環;8—填料壓套;9—填料壓蓋;10—支架;11—閥桿螺母

  T形閥體屬于直通流道。

二、角式閥體

  角式閥體(圖4)的閥門安裝在靠近管路彎頭部分時,有兩大優點:第一,與T形閥體相比,流阻大大減小;第二,使用角式閥體可以減少管路接頭和節省一個彎頭。

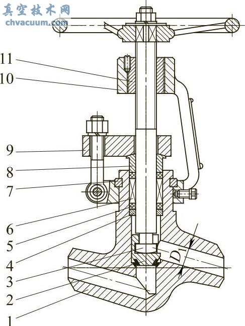
角式閥體截止閥

圖4 角式閥體截止閥

1—閥體;2—閥座;3—閥瓣;4—閥瓣蓋;5—閥桿; 6—閥蓋;7—上密封座;8—填料;9—填料壓套; 10—填料壓蓋;11—閥桿螺母;12—手輪

  角式閥體用于有脈動流動的地方,這是因為它具有處理這類流動節流作用的能力。

  角式閥體屬于角式流道。

三、Y形閥體

  Y形閥體(圖5)的設計,是為了使閥門的流阻減到最小程度。這種閥門在開關時,流阻小而且密封面也耐用。Y形閥體在截止閥的閥體類型中是流阻最小的,可以長期微啟而無嚴重沖蝕。

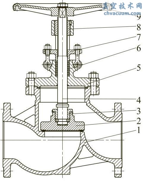
Y形閥體截止閥

圖5 Y形閥體截止閥

1—閥體;2—閥瓣;3—閥桿;4—填料函;5—支架; 6—閥桿螺母;7—填料壓板;8—填料壓套; 9—填料;10—填料墊

  Y形閥體屬于直流流道。