煤化工用金屬密封球閥的選型及應用
1、概述
煤化工是將煤通過熱加工和催化加工轉化為各種燃料和化工產品的過程。煤化工及煤制油項目首先要進行煤氣化,在高溫下將煤、焦炭等固體燃料與氣化劑反應,轉化為氣體產物和殘渣。煤氣化所用的氣化劑主要為蒸汽、高壓高純度氧氣及其混合氣體,氣化反應包括了一系列均相與非均相化學反應。所得氣體產物因所用原料煤質、氣化劑的種類和氣化過程不同而具有不同的組成,可分為煤氣、半水煤氣及水煤氣等。在煤化工產業的煤制油、煤制烯烴及大型煤化成套系統中,金屬密封耐磨球閥作為一種耐磨損的管路系統截斷及流量控制的部件得到了極為廣泛的應用。
2、煤制油工藝過程
煤制油工藝是以煤炭為原料,通過化學加工方法將固態的煤轉化合成為液態的石油燃料產品,其工藝可分為直接液化和間接液化。
2.1、直接液化
直接液化是先將煤炭磨成煤粉與溶劑配制成油煤漿,然后在高溫、高壓下將煤中復雜的有機高分子結構直接轉換為較低分子液體燃料。在精制后制得優質的油品,其工藝過程見圖1。直接液化油回收率高,可達63%~68%,煤消耗量小,生產1t液化油,需消耗洗精煤約2.4t。餾分油以汽、柴油為主,目標產品的選擇性相對較高。油煤漿進料,設備體積小,投資和運行費用低。

圖1 供氫溶劑直接液化煤制油(埃克森法)流程
直接液化的反應條件相對較苛刻。液化壓力、溫度要求過高,液化壓力為17.0~30.0MPa,溫度為430~470℃。出液化反應器的產物組成較復雜,液、固兩相混合物由于粘度較高,分離相對困難。氫耗量大,一般在6%~10%。
2.2、間接液化
間接液化是將煤炭在高溫下氣化,轉化為合成氣(CO和H2),再經過費-托合成可制得優質燃料(汽油、柴油和航空燃料)和化工原料。合成條件較溫和,反應壓力2.0~3.0MPa,反應溫度低于350℃。轉化率高,如SASOL公司SAS工藝采用熔鐵催化劑,合成氣的一次通過轉化率達到60%。
由于煤基間接液化反應物均為氣相,所以其工藝設備體積龐大,投資和運行費用高。間接液化全部需要依賴于煤的氣化,其煤耗量大且合成副產物較多,目標產品的選擇性相對較低。
3、閥門特性要求
3.1、工況條件
煤制油、油改煤及煤氣化等煤化工系統處于介質(煤渣)高硬度、高壓力及高溫度的工況,閥門應具有耐磨、耐沖刷、防結垢、防結疤及快速切斷等功能。閥門口徑大(一般為DN300~DN450)、啟閉頻繁且速度快(30min動作一次,5~10s/次),要求閥門密封性能好,可靠性高。目前,特級耐磨球閥已廣泛用于德士古爐煤化工和煤制油行業,其介質水煤漿中包含58%~67%的煤粉固體。黑水系統及灰漿系統中含有大量渣漿等特硬固體顆粒,在閥門腔體內沉積、堵塞或結垢,難于清除(表1)。
表1 煤化工用閥門特殊要求

3.2、閥門材料
Class600~1500的常溫(-29~200℃)耐磨球閥,閥體材料為ASTMA105碳鋼鍛制球閥,其球體選用ASTMA182F304。對于有強腐蝕工況時,閥體材料可采用奧氏體不銹鋼、雙相不銹鋼、Inconel625(HastelloyC-276)。Class2500的高溫(300~510℃)耐磨球閥閥體材料為A182F22或A182F347不銹鋼鍛鋼,球體選用Inconel718。閥桿采用沉淀硬化不銹鋼17-4PH(表2)或A638-660。
表2 17-4PH沉淀硬化不銹鋼和不銹鋼常溫力學性能比較

3.3、工藝技術
金屬密封耐磨球閥結構適用于輸送黑水、渣水及水煤漿等含固體顆粒的介質,閥門的球體和閥座用超音速噴涂(HVOF)JK117{(WC)/17Co}或閥座堆焊STL12#(D812)硬質合金,大規模生產時,應采用數控研磨中心對球體和閥座實行高精度的研磨。閥桿有防止固體顆粒進入填料函的金屬和填料雙密封結構。閥座彈簧具有防止灰渣堵塞結構。球閥在其一側為最大工作壓力,另一側為大氣壓的最大壓差工況下,完成啟閉并保證可靠密封,水壓試驗的泄漏等級應達到ANSI/FCI70-2的ClassⅤ級。
4、球閥性能分析
4.1、浮動球(MOGAS產品)
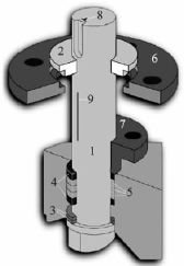
美國MOGAS雙金屬閥座浮動球球閥,為介質出口端金屬密封,閥桿帶軸肩防飛出結構,閥座設計為刮刀式。閥門具有自泄壓功能,符合抗靜電及防火要求,依據NACEMR-0103進行防腐處理,并按需要配置閥門齒輪箱(圖2)。

1.閥桿2.閥桿導向環3.閥桿密封軸承4.填料防護環5.復合填料6.執行器固裝支架7.填料壓蓋8.閥桿上的“T”標志9.刻線
圖2 MOGAS耐磨球閥閥桿填料結構
(1)通徑
采用ANSIB16.34標準規定。
(2)壓力等級
閥門的壓力等級符合訂貨規格及工藝管路等級要求,閥體壓力等級不低于法蘭等級。
(3)連接形式
球閥過程連接為法蘭連接或對焊連接,法蘭標準依據ANSIB16.5,采用RF法蘭連接。對焊連接端部標準依據ANSIB16.25。
(4)結構長度
采用ANSIB16.10標準確定閥的結構長度。
(5)閥體、閥蓋
均選用鍛件ASTMA105、ASTMA82F22、A182F347,對于需要防硫化氫的閥門按照NACE要求進行熱處理。
(6)球體、閥座
球體為不銹鋼410SS,表面高速氧火焰噴涂碳化鉻合金(涂層耐溫815℃),硬度64HRC以上,厚度不小于0.3mm。閥座為Inconel718合金,同樣采用噴涂碳化鉻合金硬化處理。表面高速氧火焰噴涂碳化鉻合金再熔融處理(耐溫815℃),涂層耐磨不易脫落。球面硬度64HRC以上,厚度不小于0.3mm。球體與閥座手工配對研磨,密封檢驗完全滿足API598標準要求。閥座鋒利的邊緣可對球體自刮擦自清潔,防止介質進入球體與閥座的密封面而造成內漏和卡塞現象。
(7)碟簧
選用碟形結構彈簧,材料為In-conel718。碟簧的主要作用是為閥座和球體施加一個預緊力,保證球體與閥座緊密結合。當球體、閥座受到熱脹發生位移時可有效回縮,防止球體與閥座發生卡塞現象。碟簧后閥座腔倒角處理(角度經流體動力學計算),使固體顆粒不易堆積在閥座后面而影響閥座的有效退讓(圖3)。

1.球體 2.閥座 3.彈簧
圖3 耐磨球球體與閥座結構
(8)閥桿
閥桿材料選用17-4PH或A638-660。閥桿設計為雙密封并有軸肩防飛出結構,帶彈簧預緊的填料壓蓋結構。閥桿設置有金屬密封軸承和填料雙重密封(圖4)。

圖4 MOGAS耐磨球閥填料及填料壓蓋結構
(9)填料
由3個模壓成型組合純石墨環(Chesterton5300)和2個有Inconel合金絲編織成的石墨抗擠壓環(Chesterton1601)組成,能承受970℃的高溫。填料壓蓋帶有預載碟簧,填料壓蓋可持續壓緊填料不致發生外漏現象。
(10)泄漏等級
切斷閥的閥瓣和閥座采用金屬密封的雙向密封形式。金屬密封軸承表面硬化處理后手工配對研磨,為壓力密封設計,壓力越大,密封越緊,可防止固體顆粒進入填料函。泄漏等級符合API598標準要求。
4.2、固定球(HARTMANN產品)
德國HARTMANN高壓固定球球球閥為金屬雙向密封,全通徑,雙流向,3片分體式結構。密封等級為雙向ANSIClassⅥ級,閥體及承壓部件都采用鍛件。閥門依據標準API6D,防火標準API607,同時符合TA-LUFT及USAEPA等標準。閥門為防吹出閥桿設計,防靜電設計。閥體材質為DIN1.4470(相當于2205系列雙相不銹鋼ASTMA8904A),球體材料為DIN1.4462(相當于2205系列雙相不銹鋼ASTMA182F51)。球體與閥座表面均噴涂有碳化鎢或碳化鉻,其硬度值達到62~68HRC。對焊端連接的閥門其對焊端坡口符合ASMEB16.25的規定。
(1)鍍層采用火焰噴涂與熱處理技術,在噴涂結束后,再對球體與閥座進行二次處理,即高溫加熱處理,使得金屬材質與鍍層材質之間融合,減少不同材質之間的隔閡,然后采用手工研磨的技術,使得球體與閥座的光潔度均衡,保證球體與閥座的表面緊密吻合。鍍層有效厚度為0.2~0.5mm。
(2)閥座后面設有彈簧組件,彈簧材質為In-conelX750,且閥座前后墊片的密封使得彈簧內腔為封閉式設計,介質中的顆粒無法進入到彈簧內腔中。另外彈簧式的閥座設計,使閥座與球體之間緊密接觸,無縫隙,因此避免了顆粒介質進入閥座與球體之間,從而避免了閥座與球體表面的刮傷。閥座的獨特設計使得閥座與球體接觸部分實際上如刮削的作用,因此在實際操作中,對閥座與球體的接觸部分可以進行刀刮的處理。
(3)閥門為全通徑,上、下游閥座對稱式設計,即閥門為雙向對稱式密封結構,閥門無指定流向。因此在現場安裝時,不存在流向問題。
(4)閥門的密封等級滿足ANSIClassⅥ的標準,完全符合技術要求。
(5)所有球閥都有上游、下游兩個閥座,閥座與閥體采用分離形式,便于閥座的更換維修。閥座密封面與球體密封面100%接觸。
(6)閥桿處采用雙密封的形式,絕對無外漏。在最大壓差下,閥桿的最小橫截面能承受操作扭矩。設計還考慮了足夠的安全裕量和執行機構的最大輸出扭矩。閥桿的最薄弱部分位于閥體之外。
(7)閥內腔可自動卸放壓力。防火設計,防靜電設計與防吹出閥桿設計。
(8)閥門額定的壓力-溫度等級滿足ASMEB16.34的規定。
(9)閥體和球體等所有接液部件滿足NACEMR-0103和NACEMR-0175的要求。閥體腐蝕裕量不小于6mm。
(10)閥門與執行機構之間的堅固支架是閥門長期動作性能可靠的保證。
4.3、選型
浮動球球閥與固定球球閥的選型原則見表3。
表3 球閥浮動球與固定球選型原則

5、結語
煤制油工藝過程中同時存在氣-液-固三相混合物介質,對閥門提出高溫、高壓、耐磨、耐腐蝕、耐沖刷、抗熱循壞和零泄漏等要求。作為全通徑、大流量、低流阻、開關方便等優點的金屬密封耐磨球閥將獲得快速發展,將逐步從低壓、常溫到高壓、高溫,促進了球閥應用范圍的擴大和發展。浮動球與固定球耐磨球閥各有特點,各種選型原則只是在一般情況下的應用原則。隨著閥門生產技術的發展,浮動球球閥將可用于高壓力工況,固定球球閥也可以用于含固體顆粒介質工況。高溫高壓金屬密封耐磨球閥在煤化工產業的煤制油、煤制烯烴及大型煤化成套系統中的推廣應用,可替代進口的同類產品,提升我國高溫高壓耐磨球閥的技術水平,有效降低企業的設備采購成本。