一種用于輸油管道安全保護的高、低壓泄壓閥

2013-06-19 劉潔 東北輸油管理局

  為了防止長輸原油管道因遇突然事故對機、泵、閥等設備及管道的損環,以保障安全平穩地輸油,在輸油管道上裝設安全保護裝置是十分必要的。我們根據液壓系統中的溢流閥原理,參照了輸油管道上引進的高壓閥,設計出一種新型的應用于長輸原油管道上的安全保護裝置——先導式電動高壓閥及氣-液阻尼式電動低壓泄壓閥。

一、高壓閥的結構及其原理

  1、結構

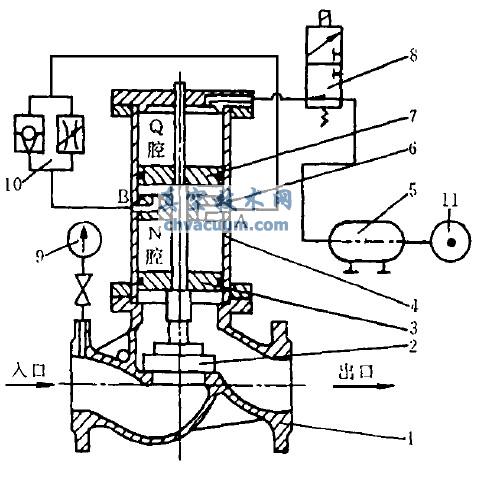
  高壓泄壓閥(見圖1) 主要由三大部分組成。即主閥體1、液壓缸部分和導閥7,其中液壓缸部分包括缸體6,彈簧5,活塞4,活塞桿3,密封蓋2 等。與該閥配套使用的附件主要有:防爆電節點壓力表10,防爆電磁換向閥8,氣源即氮氣瓶9 等。

  2、工作原理

  如圖1,當原油經由閥的入口流入閥體之后,通過阻尼油管J流入主閥芯(包括:活塞4、活塞桿3、密封蓋2)上腔,即液壓缸的上腔,同也流向導閥7 的入口Z 處。此時由于氣源氮氣壓力的作用,導閥處于關閉狀態。當主閥芯的上腔壓力原油充滿之后,其上下腔壓力將達到平衡狀態,但由于活塞4的設計面積比密封蓋2 的面積稍大一些,因此,在導閥處于關閉的條件下,主閥芯上腔的壓力P2將大于下腔的壓力P1,這樣主閥芯必然向下移動,直到封死主閥口為止,當閥口被封死后,泄壓終止,主閥芯上、下腔壓力平衡重新建立,即P2= P1。當導閥原油壓力超高而開啟時,則因有阻尼管的存在,P2下降,主閥芯下部壓力P1大于其上部作用力P2,使主閥芯提升,泄壓閥開始泄壓,因此,真空技術網(http://www.hzwlsy.com/)認為適當地調定導閥7的氮氣壓力值,就能有效地控制主閥芯上下兩腔的壓力,使主閥芯提升,并保持一定的開口量,從而保持管道出站壓力的穩定,并防止管道超壓。

高壓閥

圖1 高壓閥

  由于在活塞4 的上面引入了控制油,所以主閥的彈簧5 只起定位作用,即在低壓或無壓時克服活塞摩擦力使主閥關閉,因而彈簧剛度可大為減小。防爆電節點壓力表10 的作用是:將其上限位調至管道泄壓的最高壓力值,若管道壓力一旦達到此值時,電節點壓力表將發出電信號,控制防爆電磁閥使之動作,使導閥開啟,泄壓閥泄壓。當管道壓力降低后,電節點壓力表觸點脫開,電磁閥恢復原位,導閥關閉,泄壓閥停止泄壓。

  電磁閥的另一個作用是:可在低壓泄壓閥的入口處(即輸油泵的進口) ,安裝一塊防爆電節點壓力表,其表的下限位調至泵入口壓力的最低允許值,一旦泵入口壓力超低,降到此值時,則觸點接通,控制電磁閥動作,高壓泄壓閥泄壓,這樣可以防止入口壓力超低現象的出現。

二、低壓泄壓閥的結構及其工作原理

  1、結構

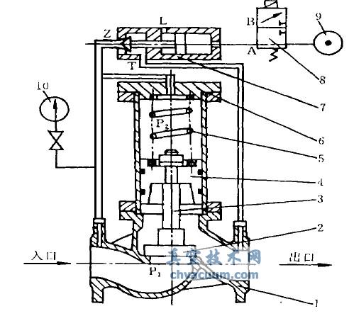
  低壓泄壓閥(見圖2) 主要有兩大部分組成,即閥體1 和氣、液阻尼缸。氣、液阻尼缸部分包括有:上活塞7,下活塞3,缸體4,活塞桿6,密封蓋2 等。與之配套使用的附件有單向節流閥10,防爆電節點壓力表9,電磁換向閥8,氮氣罐5,氣源4 等。

低壓閥

圖2 低壓閥

  2、工作原理

  當低壓泄壓閥安裝完畢之后,投入使用前,將Q 腔按設計要求充入一定壓力的氮氣,而N腔則需充滿液壓油,將電節點壓力表的上限位調至該泄壓閥泄壓的壓力值。此時原油經入口流入閥體內,密封蓋2 由于Q 腔氮氣壓力的作用使其將閥口封住,如若入口原油壓力升高至電節點壓力表調定的上限位壓力值時,則電接點壓力表觸點接通,控制電磁閥8,使其動作,放掉Q 腔氮氣壓力。此時入口處的原油將頂起密封蓋,開始泄壓。泄出一定量的原油之后,其壓力逐漸降低,當降至電節點壓力表上限位值以下時,則觸點脫開,電磁閥斷電復位接通氣罐,氮氣壓力重新又建立起來,通過上、下活塞及活塞桿作用于密封蓋上,將泄壓閥出口封死,泄壓停止。

  單向節流閥的作用為:它可使活塞運動平穩,減少沖擊及噪聲。為了使得該泄壓閥能夠迅速關閉,所以采用了單向節流閥,即關閥時不受節流控制。電接點壓力表低限位的功用,與高壓泄壓閥的相同。

三、總結

  以上對高、低泄壓的結構組成及工作原理作了初步的定性分析。需要補充說明一點兩個閥有一個共同的特點,即都具有自身的自我保護功能,雖然是電控,但一旦電控失靈,兩閥仍能對管道起安全保護作用,因此,兩閥的這一特性為管道及管道設備的安全提供了更大的保險系數,從經濟角度上分析,不論是加工制造的復雜程度和體積重量及其附件上,都比較簡單。如主閥體用截止閥體稍加改造即可實現。所以閥的經濟性比較好,當然兩閥是否可用,最后還要通過實際檢驗證明其各種性能及其效果。