槽車用安全閥的結構與特點

2020-04-26 真空技術網整理 閥門手冊

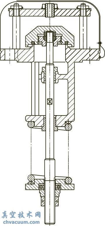
  由于槽車的特殊用途,槽車用安全閥安裝在槽車的頂部,高出槽車罐體的高度受到限制。圖1、圖2分別為內置式和外置式安全閥的結構圖,槽車用安全閥通過法蘭直接與被保護裝置相連。

  內置式安全閥為減少在被保護裝置外側的伸出高度,將閥瓣和閥座等零部件都設置在安裝法蘭的下部,介質排放出口直接向上,閥瓣帶有固定或可調整的反沖盤結構,密封面采用軟密封形式,這種安全閥主要是用于液化石油氣等介質罐車上。

內置式槽車用安全閥的結構

圖1 內置式槽車用安全閥的結構

 外置式槽車用安全閥的結構

圖2 外置式槽車用安全閥的結構

  而外置全啟式彈簧安全閥主要用于液化石油氣、液氨、液氯等介質固定儲罐、罐車及要求排放量較大的壓力容器上,閥門密封采用軟密封或硬密封結構,對于腐蝕性強的介質還可使用襯里結構。