ZK型低壓真空斷路器的原理與故障處理

2013-05-11 顧士新 兗州礦業( 集團) 公司

  以當前煤礦井下廣泛應用的隔爆型低壓真空饋電開關流行配置的一種電磁操動機構低壓交流真空斷路器為例,對ZK2-500 /1.14-9 型真空斷路器的結構、組成、工作原理進行了全面系統闡述。結合常見故障進行分析處理,并研發了專用維修工具,為準確判斷故障類型,迅速排除故障現象,及時恢復井下安全供電提供了技術保障。

引言

  當前煤礦井下低壓供電普遍使用帶有綜合保護裝置的隔爆型智能低壓饋電開關,配備低壓真空斷路器作為主回路開合元件。斷路器所配操動機構有彈簧貯能操動機構、電磁操動機構、永磁操動機構三種,其中電磁操動機構具有結構簡單、便于操作、通用性強的優點,成為近年來真空斷路器流行配置。兗州礦業( 集團) 公司南屯煤礦目前大量使用的東方公司KBZ-500 /1140 型低壓隔爆饋電開關均配備ZK2-500 /1.14-9 型電磁操動機構真空斷路器,該斷路器體積小,重量輕,滅弧、絕緣性能好,結構緊湊,操作方便,在電壓1 140 V 以下開關中應用廣泛。但這種斷路器存在合閘電流大、元件布置不合理、維修不方便等缺陷,嚴重制約著礦井安全供電和正常生產。經過真空技術網(http://www.hzwlsy.com/)對斷路器的工作原理進行了研究,分析其常見故障和判斷處理方法,為掌握斷路器分合閘過程,準確判斷故障性質,迅速排除故障將起到積極的作用。

1、斷路器工作原理

1.1、總體結構

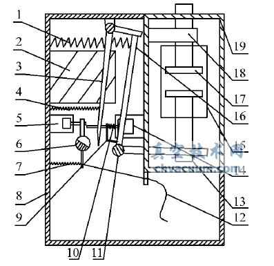
  ZK2-500 /1.14-9 型低壓交流真空斷路器結構如圖1 所示,它由構架、真空開關管15、合閘線圈2、分勵線圈5、欠壓釋放線圈14、合分閘機構等組成。其中構架由絕緣構架10、金屬構架8 兩部分組合而成,真空開關管靜觸頭17 通過電極夾18 固定在絕緣構架中,其余部件配合安裝于金屬構架中。

斷路器機構分閘位置示意圖

1 - 分閘彈簧; 2 - 合閘線圈; 3 - 保持扣板; 4 - 扣板拉簧;5 - 分勵線圈; 6 - 半軸; 7 - 半軸拉簧; 8 - 金屬構架; 9 - 輔助壓板;10 - 欠壓釋放壓簧; 11 - 合閘轉軸; 12 - 手分閘線; 13 - 真空管動觸頭;14 - 欠壓釋放線圈; 15 - 真空開關管; 16 - 合閘板; 17 - 真空管靜觸頭;18 - 電極夾; 19 - 絕緣構架

圖1 斷路器機構分閘位置示意圖

1.2、 電氣回路

  斷路器電氣回路由圖2 可見,主要通過連接插頭與開關控制系統構成三個回路,其一是欠壓釋放線圈Q 經7、14 號插頭獲得直流48 V 工作電源; 其二是分勵線圈F 經8、13 號插頭獲得直流48 V 工作電源; 其三是合閘回路經9( 12) 、10( 20) 號插頭獲得交流127 V 工作電源,通過整流后為合閘線圈H 提供直流工作電源。合閘線圈為雙線圈雙電磁鐵結構,合閘瞬間斷路器輔助接點QF 處于閉合狀態,短接掉2、4 號線圈,使其只通過1、3 號線圈大電流強磁力吸合,斷路器吸合后輔助接點斷開,四個線圈全部通電,維持小電流弱磁力保持,既保證斷路器可靠吸合,又有效延長合閘線圈使用壽命。

斷路器電氣原理圖

圖2 斷路器電氣原理圖

1.3、合閘準備

  圖1 為斷路器分閘位置示意圖,此時合閘線圈、分勵線圈均未得電,欠壓釋放線圈得電,合閘板16在分閘彈簧1的作用下被推在右方,其拐臂克服真空管自身吸力的作用,將真空管動觸頭13 拉出2 mm左右,使其處于分斷位置,同時固定在合閘板上的輔助壓板9,克服了欠壓釋放線圈壓簧10 的反作用力,將欠壓釋放線圈壓制在吸合位置,幫助欠壓釋放線圈保持吸合。

1.4、合閘過程

  該型斷路器為電磁合閘,機械保持。由圖3 所示,當開關控制系統發出合閘指令后,合閘線圈得電,其電磁鐵產生強大磁力,吸引鐵磁性的合閘板克服分閘彈簧的反作用力迅速沿合閘轉軸11 逆時針轉動,其拐臂推動真空管動觸頭上移,與靜觸頭緊密接觸,使真空管處于合閘位置,同時合閘板的上部左移,壓縮分閘彈簧并不再制約保持扣板3 的拐臂,保持扣板在扣板拉簧4 的作用下下部左擺,越過半軸6 的缺口。合閘動作到位后,合閘線圈失電,機構在分閘彈簧的反作用下有回復原有分閘狀態的趨勢,但此時半軸在半軸拉簧7 的作用下有一定角度的順時針轉動,其缺口棱角恰好擋住保持扣板,這樣既保持了扣板的拐臂,又擋住了合閘板,整套機構保持在合閘狀態,合閘過程結束。

斷路器機構合閘位置示意圖

圖3 斷路器機構合閘位置示意圖

  此外,由于合閘板的轉動帶動輔助壓板轉動,失去了對欠壓釋放線圈的壓制,為欠壓釋放做好準備。

1.5、分閘過程

  該型斷路器分閘有分勵脫扣分閘、欠壓脫扣分閘、手動脫扣分閘三種方式。

1.5.1、分勵脫扣分閘

  當開關控制系統發出分勵脫扣指令后,斷路器分勵線圈得電,其電磁鐵吸合,帶動半軸逆時針轉動一定角度,半軸的缺口失去對保持扣板的阻擋,保持扣板的拐臂隨之失去對合閘板的阻擋,合閘板在分閘彈簧的作用下迅速沿合閘轉軸順時針旋轉,其拐臂帶動真空管動觸頭下移,迅速脫離靜觸頭,使真空管由閉合轉為分斷狀態。同時,合閘板的轉動帶動了輔助壓板轉動,重新對欠壓釋放線圈產生壓制,為欠壓釋放線圈可靠吸合做好準備。

1.5.2、欠壓脫扣分閘

  當開關失電或控制系統發出欠壓脫扣指令后,斷路器欠壓釋放線圈失電,其電磁鐵在欠壓釋放壓簧的作用下彈出,頂向半軸突出部位,使半軸逆時針轉動,繼而造成真空管分斷,后續動作同分勵脫扣分閘。

1.5.3、手動脫扣分閘

  若開關控制、保護系統發生故障,或分勵、欠壓脫扣均失效,往往需要應急手動分閘,該斷路器手動脫扣分閘采用了閘線手分裝置。當需要手動分閘時,拉動手分閘線12,帶動半軸逆時針轉動,即可像分勵、欠壓脫扣一樣實現分閘。

2、常見故障及處理

2.1、拒合閘故障

  斷路器拒合閘有電氣故障和機構故障兩個方面。

2.1.1、電氣故障

  由圖2 可知,斷路器拒合閘的原因是:

  1) 欠壓釋放線圈不吸: 此線圈阻值用萬用表電阻檔測量應為400 Ω 左右,阻值過大則為線圈斷路,阻值過小則為匝間短路( 會造成熔斷器燒毀) 。若此時合閘聲音正常,但斷路器機構保持不住,則立即分斷。處理方法為更換欠壓釋放線圈。

  2) 合閘線圈故障:

  (1) 整流器開路或短路時,合閘無動靜,可用萬用表測量判斷,處理方法為更換整流器。

  (2) 線圈開路或短路時,合閘亦無動靜,可能造成熔斷器燒毀,拆開兩組線圈后用萬用表對比測量阻值即可判斷。處理方法為更換損壞的一組線圈。

  (3) 斷路器輔助接點故障,主要是閉合時接觸不良,合閘線圈吸合無力,達不到合閘位置。處理方法是打磨、調整接點或更換輔助接點。

2.1.2、機構故障

  1) 合閘線圈電磁鐵與合閘板之間進入異物,特別是檢修過程中造成平墊、彈簧墊等小型鐵質器物散落于合閘線圈附近,合閘瞬間被電磁鐵吸引,擋在電磁鐵與合閘板之間,造成合閘板運行不到位,機構掛不住。處理方法是清除異物。

  2) 輔助壓板9 因磨損、老化變形失效,使得分閘狀態下壓制不住欠壓釋放線圈的電磁鐵,或合閘時欠壓釋放線圈吸合不住,其電磁鐵只頂住半軸,造成扣板無法在半軸上保持。處理方法是調整輔助壓板的角度或更換輔助壓板。

  3) 手分操作分閘后手分閘線未復位,拉住半軸,造成再次合閘時扣板無法在半軸上保持。處理方法是對閘線進行加油潤滑,并手動反向回推,使閘線回位。

2.2、拒分閘故障

2.2.1、電氣故障

  主要是分勵線圈不吸。可用萬用表測量電阻值,檔位應為100 Ω 左右。若阻值過大則為線圈斷路,若阻值過小,則為匝間短路( 會造成熔斷器燒毀) 。處理方法為更換分勵線圈。

2.2.2、機構故障

  1) 分勵脫扣不跳閘: 分勵線圈雖已吸合,但由于其電磁鐵與半軸配合間隙大,未對半軸進行有效拉動,造成機構不動作。這種故障狀態下分勵線圈會長期帶電,極易造成分勵線圈燒毀的次生故障。處理方法是調整電磁鐵與半軸配合間隙。

  2) 欠壓脫扣不跳閘: 其一是欠壓釋放線圈失電后,因其電磁鐵與半軸配合間隙大,電磁鐵彈出后未對半軸進行有效頂動,造成機構不動作。處理方法是調整電磁鐵與半軸配合間隙; 其二是更換或調整輔助壓板后,輔助壓板壓得太死,合閘狀態下仍未脫離對欠壓釋放線圈電磁鐵的壓制,導致欠壓釋放線圈失電后,其電磁鐵無法彈出,機構不能脫扣。處理方法是調整輔助壓板,使其既在分閘狀態有效壓制,又在合閘狀態成功脫離。

  3) 手分脫扣不跳閘: 拉動手分閘線斷路器未脫扣,主要是閘線銹蝕拉不動,或閘線與半軸配合不緊密,拉不動半軸。處理方法是對閘線進行加油潤滑處理,或調整閘線與半軸的配合,使其能夠有效拉動半軸。

3、專用工具設計應用

  該型斷路器只有電動方式,而沒有手動合閘方式,由于操動機構位于背面,發生故障后要更換線圈或調整機構,都需要將斷路器從開關中拆出,更換或調整后再恢復,然后通電試驗,處理過程非常麻煩。通過反復試驗,研發了一件專用維修工具,該工具結構見圖4。

專用工具結構示意圖

1 - 手桿; 2 - 支點; 3 - 活銷; 4 - 掛鉤

圖4 專用工具結構示意圖

  專用維修工具主要由手桿、活銷、掛鉤三部分組成,手桿和掛鉤通過活銷連接,形成自由轉動配合。使用時將掛鉤插入合閘板上頭,鉤住合閘板,手桿的支點正好支撐在斷路器金屬構架上。從圖5 看出,當手桿沿下箭頭方向下壓時,會產生以支點為中心的逆時針轉動,帶動掛鉤沿上箭頭方向移動,從而將合閘板由分閘位置拉至合閘位置。利用這一專用工具,可以在開關拆卸后,不需在另外加電狀態下單獨進行斷路器的手動合分閘試驗,避免了繁鎖的反復拆卸、調整、裝配、試驗等,非常方便實用。

專用工具使用示意圖

圖5 專用工具使用示意圖

4、結語

  通過對于斷路器結構組成、工作原理、常見故障及處理方法等的闡述,對煤礦維修工掌握維修技能、提高業務素質、準確判斷故障類型、速恢復安全供電將起到一定的促進作用。特別是專用工具的研發成功,為準確判斷故障類型,迅速排除故障現象,及時恢復井下安全供電提供了保障。

參考文獻:

  [1] 王公華,梁衛東. 井下電鉗工[M]. 江蘇: 中國礦業大學出版社, 2007.

  [2] 李俊雙. 機電區隊長[M]. 北京: 煤炭工業出版社,2003.

  [3] 徐之,張世根. 煤礦供電及其設備[M]. 北京: 煤炭工業出版社, 1993.