磁力傳動技術在閥門與攪拌設備中的應用

2009-05-07 王玉良 遼寧石油化工大學 機械工程學院

磁力傳動閥門

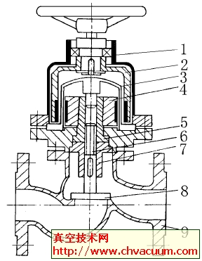
        閥門是流體輸送管道的重要組成部分,現代工業生產對閥門提出了高可靠性的要求。密封是閥門的生命,目前在線的閥門的啟閉一般采用手輪直接轉動閥桿來完成,旋轉的閥桿和靜止的閥蓋之間用填料或機械密封來阻塞泄漏,短時間、恒定壓力下可能不漏,使用一段時間,或者介質壓力發生異常,就會出現泄漏(外漏),閥桿的泄漏極為常見,泄漏不僅造成系統的壓力損失和流體浪費,對于腐蝕性和危險性的流體,泄漏會帶來災難性的后果。無填料永磁傳動閥應用磁力傳動原理,閥桿無需伸出閥蓋,傳動軸與閥桿間靠永磁體的推拉磁路實現同步轉動,兩者之間用隔離套隔開,介質位于一個密閉空間內,陶汰了密封件,減小了閥桿的摩擦力矩,實現了絕對密封。圖3 為筆者的專利產品—磁力傳動截止閥結構圖。按此原理又開發了磁傳動球閥、磁傳動閘板閥。閘板閥若長期關閉楔緊,開啟力矩很大,磁傳動應用受到限制。

永磁傳動截止閥 

1.閥蓋 2.外磁轉子 3.隔離套4.內磁轉子5.閥桿螺母 6.閥桿 7.滑座 8.閥瓣 9.閥體

圖3 永磁傳動截止閥

磁力傳動攪拌設備

        攪拌設備在石油化工、農藥、制藥、生物工程等領域應用很廣。它用于物料的混合、溶解、加熱、冷卻、反應等操作。這樣的裝備根據形狀的不同有的稱為反應釜,有的稱為反應器。在石油化工工業中因為大量應用催化劑、添加劑,對攪拌設備需求量很大。例如汽油中添加四已基鉛等混合均化,基礎油加入添加劑混合制成各種標號的潤滑油,高壓聚乙烯、聚丙烯、合成橡膠、染料和油漆等工藝過程,都裝備著各種型式的攪拌設備。

        攪拌設備的軸封多是用填料密封和機械密封。它們僅僅可以控制泄漏,不能避免泄漏,在某些應用是允許的。攪拌往往是在壓力下進行,反應物具有一定的溫度和腐蝕性、揮發性,此時轉軸的密封成為反應釜的一個重要問題。帶有攪拌器的反應設備應用磁力傳動,除實現了絕對密封之外,還可避免介質的氧化和冷凝。

        隨著科學技術的發展,設備有大型化發展的趨勢。容器的大型化使釜型由細長型向矮胖型發展,而且采用底部攪拌的方法越來越多。底部攪拌對于那些在攪拌或反應中物料容易出現沉淀的工況下更能體現出其優越性。底部驅動軸的泄漏比起頂部驅動嚴重得多,為此,磁力傳動攪拌技術已變得深受歡迎的選擇。

永磁傳動反應釜


圖4 永磁傳動反應釜

        上圖為某試驗基地設計的壓力 4 MPa、工作溫度 300℃、傳動功率15kW 的永磁傳動反應釜,投入運行后效果很好。圖4 是永磁傳動反應釜模型。