水環式真空泵簡析

2009-10-23 張宏杰 山西漳澤電力股份有限公司河津發電廠

  凝汽器的真空系統主要由真空泵及其管道系統等組成; 用以維持凝汽器系統真空。真空泵種類繁多, 目前普遍采用的是機械離心式真空泵和水環式真空泵。河津發電廠2×350MW 機組采用水環式真空泵, 并在真空泵吸入口前串聯1 個射氣抽氣器。

1、抽真空系統主要設備及工作原理

1.1、抽氣器原理

  抽氣器一般有射水抽氣器和射汽抽氣器兩種。其工作原理大致相同, 僅僅是噴射工質不同而已, 一種是水, 而另一種是蒸汽。圖1是抽氣器的工作原理圖。從圖1中可以看到; 噴射工質(水或汽) 由噴咀高速噴出時, 在擴壓管入口形成高度真空, 將周圍空氣(從凝汽器引來的) 吸入擴壓管。在擴壓管出口水汽的速度逐漸降低, 壓力不斷升高。最后將混合的氣體排入大氣中。這樣就可將凝汽器內的空氣和不凝結蒸汽抽出。抽氣器本身結構比較簡單、工作可靠、啟動迅速, 并具有較強的自吸能力。

抽氣器工作原理

圖1 抽氣器工作原理

1.2、抽氣器結構

  圖2是抽氣器的結構圖, 它與前面所提到的射水(汽) 抽氣器有所不同, 不是靠射水或者射汽來作為工作的介質, 而是靠抽氣器出入口的差壓產生引射作用來工作。它主要用來彌補水環式真空泵受高真空度下工作的限制。

抽氣器結構圖

圖2 抽氣器結構圖

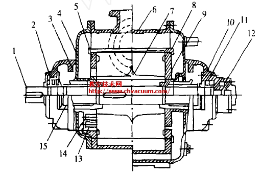
1.3、水環式真空泵的結構

  水環式真空泵主要由泵軸、葉輪, 泵殼、端蓋,隔板、泵軸和密封裝置等組成。從圖3 中可以看到:泵殼為圓筒雙結構, 泵殼的夾層分別與兩側的隔板(5)和(8)的進排氣口及密封水入口相通, 形成進氣、排氣、和密封水3個空間。借助端蓋上的螺栓, 將隔板壓緊在泵殼上, 并使它與葉輪(7)端面的間隙保持一定在0.2 mm~0.4mm。由于葉輪端面與隔板的軸向間隙很小,為了防止真空泵在工作時泵軸竄動而引起動靜部分的磨損, 在泵軸的自由端設有一雙向推力球面軸承。作為泵軸軸向定位的基準。而泵軸兩側分別由2個徑向滾柱軸承支承。

1.4、密封水泵

  密封水泵的型號為50X 40CSH-K單級臥式離心泵, 它作為水環式真空泵的密封水泵, 其結構形式與一般臥式離心泵并無多大差別。因為水環式真空泵在工作中, 由于葉輪與水環不斷撞擊摩擦, 使水環溫度不斷上升, 而直接影響到泵的吸入真空度。同時, 密封水隨氣體被送到氣水分離水箱, 一部分水分會隨著氣體排出。這就要求在真空泵的運行過程中, 必須連續地向泵內補入一定量的水, 以彌補密封水的損耗和進行冷卻的作用。在SONIT-F200B 水環式真空泵裝置中, 密封水的供給由密封水泵來完成。

  但是, 隨著凝汽器真空度要求的提高, 單獨使用水環式真空泵往往無法達到凝汽器的真空要求,所以要將抽氣器和水環式真空泵結合起來。河津發電廠350MW機組就是采用水環式真空泵吸入口前串聯1個射氣抽氣器, 可使機組達到一個較高的水平。

1.5、真空泵工作原理

SON IT-F200B真空泵結構圖

1-泵軸; 2, 11-滾動軸承; 3-密封裝置;4-端蓋; 5, 8-隔板; 6-泵殼; 7-葉輪;9-密封軸套; 10-油封圈; 12-推力軸;13-浮動球; 14-排氣裝置; 15-葉輪井

圖3 SONIT-F200B真空泵結構圖

  如圖3 所示, 在水環式真空泵的圓筒泵殼內, 偏心地安裝著葉輪, 在葉輪中, 裝有前彎式的葉片。當泵工作時, 泵內充滿水, 葉輪旋轉時, 工作水在離心的作用下甩向葉輪的周圍, 形成沿泵殼旋轉的水環。由于葉輪是偏心的, 水環相對于葉片作相對運動, 使相鄰2個葉片之間的空間容積呈周期性變化, 類似往復式活塞一樣, 工作水先膨脹, 使真空泵進口形成真空, 將空氣吸入泵內, 然后再通過壓縮提高壓力后, 和水一同將空氣從真空泵的排氣口排出。同時, 它還具有如下特點:

  a) 啟動性能好, 當入口壓力高時, 抽氣量會迅速上升。水環式真空泵的這種特性對汽輪機的快速啟動極為有利;

  b) 適應性強, 當真空系統在運行中漏氣量增大時, 真空僅會有較小的下降, 且抽氣過程中, 若進水也不會產生危險;

  c) 控制簡單、操作方便、自動化程度高、安全可靠;

  d) 能量損耗小;

  e) 汽水工質損失少;

  f) 動靜部分接觸面小、檢修維護周期長、工作量小。