閘閥閘板結構分析

2014-03-27 李棟 北京富邦德石油機械設備有限公司

  分析了楔式閘閥及平行雙閘板閘閥的結構特點和不足,介紹了楔塊式平行雙閘板閘閥的性能。

1、概述

  隨著我國電力工業和機械工業的發展,很多閥門已經實現國產化,但仍有部分閥門需要從國外進口,其中包括平行雙閘板閘閥。研制平行雙閘板閘閥既能降低電站的建造成本,又能提高國內電站閥門的技術能力。

2、結構特點

  閘閥種類很多,根據閘板形狀可分為楔式閘閥和平行式閘閥。

  2.1、楔式閘閥

  楔式閘閥兩個密封面與管道軸線成一定的夾角,即兩個密封面成楔形。楔式閘閥常見的結構是楔式單閘板閘閥( 圖1) 和楔式雙閘板閘閥( 圖2) 。楔式單閘板閘閥結構簡單,安裝方便,使用可靠,但閥門對密封面角度的精度要求較高,加工維修比較困難,一般生產制造企業只能配作,產品無互換性。閥門開啟瞬間存在很大的靜摩擦力,開啟力矩大,須配置較大功率的電動執行裝置,才能保證正常啟閉,但過大的關閉力矩易造成密封面損傷及閘板楔住。在溫度升高狀態下,由于材料強度降低,密封面的硬度下降,密封副處于膠合狀態,此時如果關閉力矩不當,閘板楔住的可能性比較大。

楔式單閘板結構

圖1 楔式單閘板結構

1. 下擋板2. 頂芯3. 閘板架4. 左閘板5. 上擋板6. 右閘板

楔式雙閘板

圖2 楔式雙閘板

  楔式雙閘板閘閥對密封面角度的精度要求較低,可以通過左右閘板之間的萬向頂芯調整密封面的角度,以彌補密封面角度在加工時產生的偏差,而且密封面磨損時可以在萬向頂芯位置加墊片補償,同時降低了在溫度升高時閘板楔住的可能性。但其閘板組件零件較多,結構松散,閘板易脫落,可靠性差,易發生閥桿根部退刀槽或銷孔處斷裂、上下擋板銹蝕致閘板脫落或閘板架斷裂等故障。

  2.2、平行雙閘板閘閥

  平行雙閘板閘閥的結構特點主要在于左右閘板的撐開方式,一般分為彈簧式和楔式。

  彈簧式平行雙閘板閘閥( 圖3) 的閘板組件主要有左右閘板、閘板架、彈簧、定位套和螺柱等零件組成,彈簧個數一般為三個螺旋彈簧。小口徑閥門由于受空間限制一般為單個彈簧,且無定位套,僅靠兩側閥座對閘板定位。閥門開襠尺寸及彈簧預緊力調整比較方便,加工相對簡單,應用較為普遍。但彈簧力的調整不易控制。彈簧力過大,會造成閥門啟閉不靈活,在啟閉過程中出口側密封面壓力大,容易磨損擦傷。彈簧力過小,閥門處于關閉狀態下,不足以形成密封面的必需比壓,易造成泄漏,特別是在低壓介質狀態下。在高溫狀態下,彈簧長期處于某一狀態,有可能出現失效。

彈簧式平行雙閘板結構

1. 定位套2. 閘板架3. 彈簧4. 左閘板5. 右閘板6. 螺柱

圖3 彈簧式平行雙閘板結構

  楔式平行雙閘板閘閥分為上楔式( 圖4) 和下楔式兩種。上楔式是靠閥桿頭部的斧形扁錐頭插入雙閘板之間實現撐開左右閘板的結構。閥門關閉時,閥桿推動閘板向下運動,當閘板架下部碰到閥體底部的定位螺栓時,閥桿繼續下行撐開左右閘板,以達到密封要求。下楔式和上楔式的主要區別是斧形扁錐頭頂芯在下部,安裝在閘板架底部的定位孔內。當閥門關閉時,頂芯先頂住閥體底部的定位凸臺,閥桿推動閘板繼續下行,使頂芯從下面撐開左右閘板以達到密封所需的密封比壓。

  上楔式平行雙閘板閘閥在關閉過程中,閘板受到介質壓力的推壓,密封面的摩擦阻力增大,有可能在閘板架沒有到位的情況下就撐開左右閘板,致使關閉更為困難,閘板繼續下行易造成密封面磨損、擦傷,甚至關閉不到位,影響整個系統的正常運行,而且安裝時根據需要調整定位螺栓的高度,比較繁瑣。下楔式平行雙閘板閘閥在結構上消除了閥門關閉不要位的問題,但結構復雜,對閘板架、頂芯的加工精度較高,而且對頂芯的材料也有一定要求。

上楔式平行雙閘板結構

1. 定位螺栓2. 閘板架3. 閥桿4. 左閘板5. 右閘板6. 閥體

圖4 上楔式平行雙閘板結構

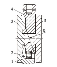
  2.3、楔塊式平行雙閘板閘閥

  楔塊式平行雙閘板閘閥的閘板組件( 圖5) 由左右閘板、上下楔塊( 左右板架) 和彈簧等零件組成。閥門關閉時,驅動裝置通過閥桿螺母帶動閥桿向下運動。當下楔塊碰到閥體底部的定位凸臺時,閥桿驅動上楔塊繼續下行。下行過程中閥桿軸向力轉化為左右閥座密封力,達到可靠密封。閥門開啟時,驅動裝置帶動閥桿向上運動,閥桿帶動上楔塊使其與下楔塊分離。當閥桿頭部與上密封座接觸時,閘板組件脫離通道完成開啟動作。

楔式平行雙閘板結構

1. 下楔塊2. 彈簧3. 左閘板4. 上楔塊5. 右閘板

圖5 楔式平行雙閘板結構

  上、下楔塊的接觸為線接觸,上楔塊為半徑R的圓弧面,下楔塊為角度α 的斜面,上下楔塊接觸時為一條線,減少兩楔塊相互運動時的摩擦力,降低閥桿的驅動力矩。由于楔角大小直接影響閥門啟閉力矩的大小。通過設計合理的楔角,可以減小閥桿的驅動力矩,降低驅動裝置等級,節約制造成本,同時避免上下楔塊的自鎖,確保閥門正常開啟。在上、下楔塊之間設置一個螺旋彈簧,一則在開啟時通過彈簧預緊力作用于上楔塊,給其一向上的作用力,減小閥桿在開啟瞬間的驅動力矩,二則在關閉時下楔塊接觸閥體底部定位的瞬間,由于驅動裝置的驅動力矩較大,閥桿的軸向力較大,彈簧可以緩沖上楔塊對下楔塊的沖擊載荷。

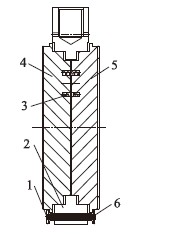
啟閉過程中閘板與閥座的相對位置

(a) 關閉狀態(b) 開啟狀態

圖6 啟閉過程中閘板與閥座的相對位置

  在啟閉過程中,由于上下楔塊是圓弧面與斜面線接觸,摩擦力小,通過彈簧預緊力使上、下楔塊產生相對水平位移( 圖6) ,實現閘板與閥座兩密封面分離,減少密封面之間的摩擦,從而減小閥桿的驅動力矩,也降低高溫狀態下閘板楔住的發生機率。由于上下楔塊在關閉時為線接觸,應力較大,所以在設計制造時要對上下楔塊接觸面進行熱處理或堆焊硬質合金,增加耐磨性,延長使用壽命。

3、結語

  楔塊式平行雙閘板閘閥摩擦力小,驅動力矩小,密封性好,耐磨損,性能穩定,適用于大型火電和核電機組。