高溫蒸汽疏水閥密封墊與螺栓參數的選擇研究
隨著疏水閥使用溫度的提高,閥體泄漏已成為不可忽視且急需解決的工程難題。針對 ES8B型鐘形浮子式疏水閥在使用過程中出現的閥體與閥蓋之間的密封泄漏的問題,研究分析產生密封泄漏的原因,提出了墊片的預緊比壓和螺栓最大轉矩最小轉矩的計算方法,討論如何選取密封墊片與螺栓可以使密封達到最佳的效果。對預防蒸汽疏水閥的泄漏,提高企業的經濟效益具有重要的參考價值。
一、前言
蒸汽疏水閥用于管道、加熱器和散熱器等蒸汽供熱設備系統中,可自動排除凝結水、空氣和不可凝氣體,防止蒸汽泄漏,提高熱效率。它是保障蒸汽系統正常工作、凝結水回收利用和節約能源的重要自力式控制類閥門。
蒸汽疏水閥的使用溫度一般在200~300℃,此時法蘭連接處密封墊片在常溫時的參數特性會發生改變,墊片會加速老化,彈性下降,產生龜裂,從而造成法蘭面密封不嚴而發生泄漏。另外若法蘭處連接螺栓的壓緊力過大,引起螺栓變形或伸長,也會導致密封墊片破壞而發生泄漏。還有人工裝放墊片時如不慎將密封墊片裝偏,法蘭緊固過程中用力不均或是兩法蘭中心線偏移,造成假緊現象也會產生泄漏。因此,密封墊片預緊比壓的計算以及法蘭聯接螺栓的轉矩計算直接關系到蒸汽疏水閥法蘭聯接處密封效果的優良,合理選取密封墊片與螺栓對于預防蒸汽疏水閥泄漏意義重大。
二、墊片密封原理
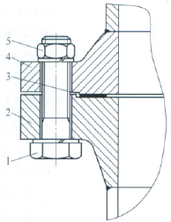
墊片密封是工業裝置中壓力容器、工藝設備、動力機器和連接管道等可拆卸連接處最主要的密封形式,它是借助聯接螺栓穿過法蘭或閥體與閥蓋之間的中法蘭螺栓孔,在螺栓預緊力的作用下對密封面施加壓緊力,從而填塞密封面間凹凸不平的微觀幾何間隙來實現密封目的(如圖所示),從閥門設計計算的觀點出發,應該將聯接殼體的螺栓與起密封作用的墊片相互聯系起來整體考慮。

螺栓、墊片連接圖
1.螺栓2.殼體3.墊片4.閥蓋5.螺母
閥門連接的密封一般屬于靜密封,而靜密封屬于接觸性密封,接觸性密封是指借助密封力使密封面互相靠緊、接觸甚至嵌入以減少或消除間隙的各類密封;而接觸性密封又可分為彈性體密封和非彈性體密封兩類;一般在設計中低壓閥門時都采用彈性密封墊密封。
三、鐘形浮子式疏水閥選用墊片的預緊比壓與螺栓最大、最小轉矩的計算
1.疏水閥選用墊片和螺栓的參數
甘肅紅峰機械有限責任公司的疏水閥產品ES8B近期在用戶使用中出現了閥體與閥蓋之間的密封泄漏,該閥屬于鐘形浮子式疏水閥,動作特性為間歇式工作,一般使用在壓力較低場合(2.5MPa以下),如蒸汽管線的泄水(導淋),小型硫化機、管線伴熱等;最早該閥的閥體與閥蓋之間采用石棉復合墊密封,石棉墊淘汰后,采用柔性石墨復合墊。ES8B鐘形浮子式疏水閥螺栓、柔性石墨復合密封墊參數見表1。
表1 ES8B鐘形浮子式疏水閥墊片、螺栓參數

注:ES8B型疏水閥所采用的柔性石墨復合墊可近似看作同心圓墊片。
2.螺栓最小轉矩的計算
當密封流體(介質)的壓力為零時,墊片應力的作用是使墊片材料發生彈塑性變形,以填塞上下密封面幾何形狀偏差形成的泄漏通道,這時的墊片應力為室溫下的最小墊片應力,稱為最小設計預緊應力或墊片最小預緊比壓,通常在設計規范中以y表示其數值。如非金屬板狀墊片為10~30MPa,軟金屬墊片為20~70MPa,實心金屬墊片70~200MPa;墊片的最小預緊比壓確定后,結合密封面積可算出單個螺栓的受力及單個螺栓的最小轉矩,見表2。
表2 螺栓最小轉矩的計算

3.螺栓最大轉矩的計算表
(1)計算螺栓最大轉矩時遇到的問題螺栓的最小轉矩確定后,可用定力矩扳手控制力矩從而達到預緊螺栓的目的,考慮到閥門的各種使用工況,在裝配時,扳手的實際力矩必須大于計算出的最小螺栓轉矩,大多少才不至于將墊片壓潰或螺栓偶然過載時被拉斷,需要一個螺栓最大轉矩來限制;一般在設計螺栓時,沒有將螺栓與選用的密封墊綜合來考慮;在提出了墊片的壓縮(潰)強度概念,壓縮(潰)強度是墊片發生壓潰的極限載荷,其數值的大小與工作溫度和墊片厚度有關,一般通過試驗測得;不同墊片的壓縮(潰)強度可以作為墊片的極限應力來計算螺栓的最大轉矩。
綜上所述,為了保證螺栓、密封墊聯接所需要的預緊力,又不使螺紋聯接件過載,就需要一個最大裝配墊片應力σmax,用σmax也可推導出螺栓的最大轉矩Mmax;在設計裝配墊片應力值時,不應超過最大裝配墊片應力σmax,同樣螺栓的轉矩也不應超過最大轉矩Mmax;但未給出各種墊片的σmax,只是提出這個概念而已。
(2)計算螺栓最大轉矩螺栓的最大轉矩要用墊片的何種應力計算是值得考慮的問題。在對上述閥門用轉矩扳手進行預緊時發現,如果扳手的力矩超過60N·m,柔性石墨復合墊片在螺栓力的作用下,壓縮到一定的程度時,墊片的伸縮量已經很小,如果超過該力矩后,不是螺栓被擰斷,就是密封墊被壓潰,這說明預緊應力已超過了螺栓材料的許用應力或密封墊的壓縮(潰)強度;在閥門零件設計或化工容器設計時,即在預緊工況和操作工況下,螺栓的載荷與該條件下螺栓材料的許用應力、螺栓所需總截面積存在以下關系:


式中 Aa——預緊工況下計算的螺栓總截面積;
Ap——操作工況下計算的螺栓總截面積;
Wa——螺栓的最小預緊載荷;
Wp——操作工況下的螺栓載荷;
[σ]b——常溫下螺栓材料的許用應力;
[σ]bt——設計溫度下螺栓材料的許用應力。
Wp值等于抵抗介質內壓產生的軸向力使法蘭(密封面)聯接分開的載荷和維持密封墊片表面必需的壓緊載荷之和,Wp、Wa的大小與密封墊的基本寬度、密封墊的厚度和直徑有一定的關系。
如果在設計時確定了介質的壓力(一般取公稱壓力)、密封面的形式和采用的密封墊材料、螺栓材料,就可計算出螺栓的Wp、Wa,從而計算不同條件下的螺栓總面積,選擇大者為所需螺栓總截面積,從而確定實際選用螺栓的直徑與個數。
在一些關于密封、連接件的設計資料中對于一般連接用的鋼制螺栓連接的預緊力Fmax提出了按下式確定:
碳素鋼螺栓Fmax≤(0.6~0.7)σsA1 (3)
合金鋼螺栓Fmax≤(0.5~0.6)σsA1 (4)
式中 σs——螺栓材料的屈服強度;
A1——螺栓危險截面的面積,A1=πd12/4(d1為螺栓截面的最小直徑)。
若上述閥門選用的螺栓大小、數量符合設計要求,則用螺栓的許用拉應力來作為墊片的最大裝配應力,從而計算螺栓的最大轉矩(見表3)。表3中選用螺栓的屈服強度較小(35CrMo的螺栓熱處理后在300℃的工作條件下的屈服強度為480MPa),如果閥門的工作溫度較低,螺栓的屈服強度增大,通過計算得出的螺栓最大轉矩也將變大,計算出的螺栓最大轉矩小于用轉矩扳手測得的螺栓力矩。
(3)解決問題的方法和思路墊片的最大裝配應力σmax要通過試驗測定,或是選用密封材料的許用比壓[q]來計算常溫下螺栓的最大轉矩,可通過取設計中使用的密封材料的許用比壓;也可以通過以上公式先計算螺栓的直徑與個數后,再計算螺栓的最大轉矩,最后用精確的轉矩扳手予以驗證。
表3 螺栓最大轉矩的計算

四、結語
通過對密封墊片預緊比壓以及螺栓最大轉矩、最小轉矩的計算與分析,改進了原有密封墊片與螺栓的參數,改進后的ES8B型鐘形浮子式疏水閥,截止目前已連續工作1000h以上,閥體與閥蓋聯接處無明顯泄漏,證實了經改進后選取的密封墊片與螺栓組合達到了此工況下的密封要求,這種密封墊與螺栓參數選擇的方法在相關閥門密封領域具有廣闊的推廣應用前景。