新型磁流體密封圈的特性分析

2010-01-30 李松晶 哈爾濱工業大學機電工程學院

  磁流體密封技術是近年來發展起來的一項新技術. 利用磁流體作為密封介質設計了新型徑向磁極磁流體密封圈,介紹了該密封圈的結構及工作原理;給出了耐壓能力的數學模型,并通過密封間隙中磁場的有限元分析及磁流體流場的分析,對該密封圈進行了特性分析;給出了密封壓力與密封圈磁極長度、磁極寬度和密封間隙三個設計參數之間的變化關系,并給出了新型徑向磁極密封圈和軸向磁極密封圈的設計比較.分析結果表明,所設計徑向磁極磁流體密封圈的耐壓能力隨磁極長度增加先增大后減小,隨磁極寬度增大而增大,隨密封間隙增大而減小,除具有目前普遍采用的軸向磁極磁流體密封圈的優點外,還具有比軸向磁極密封圈尺寸小、結構簡單的特點.

  磁流體是一種在母液中添加了鐵磁性物質和添加劑的懸濁液. 可在外加磁場的作用下,由流動狀態轉變為接近固體狀態;磁場消失后,又恢復為原流動狀態. 在外加磁場下,磁流體能夠產生一定的屈服應力,該屈服應力的大小與所施加的磁場強度有關. 因而,利用磁流體在外加磁場下具有加大的屈服應力這一特點,可將磁流體添加入由磁極構成的密封間隙中,形成密封帶,起到密封的作用.

  與傳統的密封圈相比,磁流體密封具有如下特點: (1) 密封性能好,可以達到無泄漏; (2) 無固體摩擦,因而摩擦力小; (3) 結構緊湊; (4) 對被密封件加工精度要求低; (5) 使用過程中無磨損,因而使用壽命長.

  早在20 世紀60 年代,磁流體便被用于密封裝置的設計;目前已產品化、市場化. 磁流體密封主要應用在油霧密封、放射性氣體密封、超導發電機密封、發酵槽的密封、半導體制造工藝、真空密封等場合.

  本文利用徑向充磁的方法,采用徑向磁極設計了一種用于氣動系統的新型磁流體密封圈;該密封圈可同時用于靜密封和旋轉密封. 由于采用徑向磁極,該密封圈密封特性好,且尺寸小. 本文介紹了該密封圈的結構及密封原理,給出了磁流體密封圈耐壓能力的數學模型,并對該磁流體密封圈的耐壓能力進行了分析.

1、兩種密封結構及密封原理比較

  目前普遍使用的磁流體密封結構如圖1 所示;磁流體密封由永久磁鐵和兩端的導磁材料構成磁極,磁極與被密封件之間的間隙充滿磁流體.由于永久磁鐵為軸向充磁,為形成閉合回路,永磁兩端必須采用導磁材料,而被密封件也最好為導磁材料. 同時為使漏磁盡量少,永磁與被密封軸之間的間隙要盡量大,應使密封尺寸增大.

軸向磁極磁流體密封圈密封原理

圖1  軸向磁極磁流體密封圈密封原理

  所設計新型磁流體密封圈的結構如圖2 所示,密封圈由外套、磁極、側板及磁流體組成. 兩塊側板、磁極及被密封件之間的環形空間充滿磁流體,磁極為釹鐵硼材料制作的永久磁鐵. 充磁方向為徑向,即內圓為N 極,外圓為S 極. 因而環形間隙中的磁流體在徑向磁極的作用下,形成徑向磁鏈,具有一定的屈服應力,能夠承受一定的軸向剪切壓力,使被密封件被緊密的密封. 套筒和側板均采用不導磁材料;其作用除構成一個密封腔,固定磁極和磁流體外,還起到隔磁的作用,可減小漏磁,增大密封間隙中的磁場強度.

新型磁流體密封圈結構圖

1. 套筒; 2. 磁極; 3. 被密封軸件; 4. 磁流體; 5. 側板

 圖2  新型磁流體密封圈結構圖

  上述兩種磁流體密封圈結構圖表明,軸向磁極為減小漏磁,則要增大結構尺寸,而徑向磁極為減小漏磁,則磁極和被密封件之間的間隙應越小越好,因而尺寸小. 但軸向磁極較易于充磁,而徑向磁極不易于充磁,且徑向磁極與軸向磁極相比由于不能形成閉合回路,而漏磁較大.

2、數學模型

  對于所設計磁流體密封圈的計算中,由于磁流體的屈服應力是由磁場強度決定的,因而密封圈的耐壓能力與磁路的設計和計算是密切相關的.

2.1、磁鋼工作點的計算

  密封圈中永久磁鐵工作點的計算是比較困難的,近似計算的方法計算結果非常不準確,因而可采用有限元方法進行計算,或通過實驗方法,先測量出永磁產生的作用力,再根據永磁作用力計算出永磁工作點;本文采用有限元法進行計算.經有限元計算得徑向磁極磁流體密封圈磁場分布圖如圖3 所示. 由于磁流體密封圈的結構和磁場分布都是軸對稱的,圖3 只給出了軸切面的上半部分的磁場分布. 對于采用有限元方法分析的磁場,其磁力線分布圖因網格劃分的不同而不同,因而網格劃分的合理性也是有限元分析的關鍵.

徑向磁極磁流體密封圈磁場分布圖

圖3  徑向磁極磁流體密封圈磁場分布圖

2.2、磁流體的磁化強度

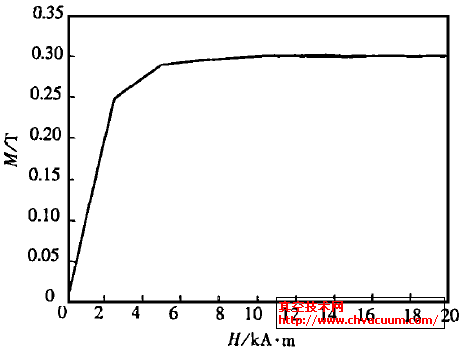
  磁流體在徑向外加磁場的作用下,徑向成鏈,產生一定的磁化強度,可抵抗作用在磁流體上的剪切力,使磁流體在被密封件之間形成了密封帶.磁流體的磁化強度也是破壞磁流體成鏈狀態所需要施加的力,所采用的磁流體的磁化強度和磁場強度之間關系曲線如圖4 所示. 圖4 表明,磁場強度達到一定值時,磁流體的磁化強度達到飽和.

磁流體磁化強度曲線

圖4  磁流體磁化強度曲線