GB/T 6071-2003 超高真空法蘭

2009-06-01 中國國家標準化管理委員會 真空技術網整理

       GB/T 6071-2003  超高真空法蘭標準代替GB/T 6071.1-1985((超高真空法蘭結構型式》,GB/T 6071.2-1985((超高真空法蘭尺寸》,GB/T 6071. 3-1985《超高真空法蘭用銅密封墊》。

       GB/T 6071-2003  超高真空法蘭標準與GB/T 6071. 1~6071.3-1985相比主要變化如下:

       — 將D,的負公差調整為正公差;

       — 對部分法蘭的基本尺寸進行了調整,將外徑D36改為D34,D56改為D54,D62改為D60,D71改為D70,D89改為D86。

       — 增加了DN (25) , DN250規格;

       — 刀口處向內傾斜5度,刀口總深度由原1. 5 mm調整為1. 2 mm;

       — 法蘭的烘烤溫度由原450℃改為不大于300℃;

       — 法蘭公稱通徑DN直通到法蘭刀口底面;

       — 調整了銅密封墊的環帶尺寸;

       — 為方便使用將圖和對應的表排在一起。

一、范圍

       GB/T 6071—2003  超高真空法蘭標準規定了內焊型、松套型、盲型超高真空法蘭(以下簡稱法蘭)和銅密封墊的型式、尺寸及技術要求。

       本標準適用于超高真空系統中公稱通徑為16 mm-250 mm用銅墊密封的不銹鋼法蘭及銅密封墊。

二、規范性引用文件

       下列文件中的條款通過本標準的引用而成為本標準的條款。凡是注日期的引用文件,其隨后所有的修改單(不包括勘誤的內容)或修訂版均不適用于本標準,然而,鼓勵根據本標準達成協議的各方研究是否可使用這些文件的最新版本。凡是不注日期的引用文件,其最新版本適用于本標準。

       GB/T 1800(所有部分) 極限與配合基礎

       GB/T 5231-2001 加工銅及銅合金化學成分和產品形狀

       GB/T 1220-1992 不銹鋼棒

三、型式與尺寸

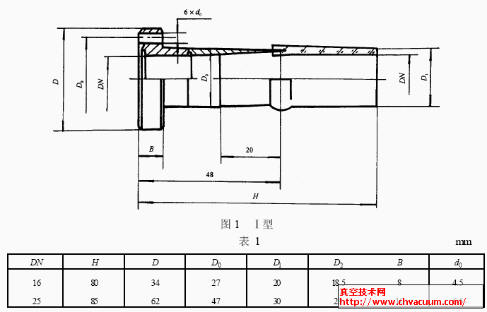
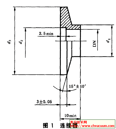
       1、法蘭與接管的連接型式應符合圖1的規定,尺寸應符合表1的規定。

       2、內焊型法蘭的型式應符合圖2的規定,尺寸應符合表2的規定。

       3、松套型法蘭的型式應符合圖3的規定,尺寸應符合表3的規定;

             松套型法蘭肩環(以下簡稱肩環)的型式應符合圖4的規定,尺寸應符合表4的規定。

       4、盲型法蘭的型式應符合圖5的規定,尺寸應符合表5的規定。

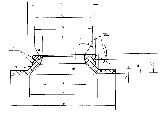
       5、銅密封墊的型式應符合圖6的規定,尺寸應符合表6的規定。

標準全文下載:

  GB/T 6071-2003 超高真空法蘭