NaCl鹽膜對鋁青銅高溫氧化行為的影響

2009-09-23 李占鑫 中信戴卡輪轂制造股份有限公司

  鋁青銅具有較高的強度及優良的導熱、耐蝕性能,因而被廣泛地用于電廠、船舶中冷凝管的熱交換材料及其他耐蝕耐磨部件。有關鋁青銅在介質中的腐蝕行為的研究報道較多,近期的研究結果發現,電弧噴涂的鋁青銅涂層具有很好的抗高溫氧化性能 ,但關于鋁青銅在高溫氯化鹽膜作用下的氧化行為的研究未見報道,在真空技術網上也未見相關文章發表。由于一些冷凝管、過熱器等部件在服役過程中因溫度過高而易發生氧化腐蝕,而部件表面的沉積鹽可加速其腐蝕過程 ,而NaCl是沉積鹽中的典型組分。為此,本文研究了在700~900℃鋁青銅表面未涂和涂有NaCl鹽膜的氧化行為,并對其氧化機制進行分析,所得結果對豐富鋁青銅的高溫氧化腐蝕及擴大其應用將有一定的理論與實際意義。

1、試驗方法

  試驗材料為鋁青銅, 其主要成分(質量分數,%)為89.12Cu,10.33Al,0.32Bi。試驗材料采用真空中頻感應爐熔煉,溫度約1200℃時,在石墨模中澆注成棒料。然后,將棒料加工成尺寸為10mm ×10mm ×5 mm的試樣,試驗前樣品用砂紙磨至1000號,經酒精清洗及預熱后,用毛刷將過飽和的NaCl水溶液均勻涂于試樣表面,烘干,試樣表面可獲得涂鹽量約為3mg/cm2。然后,將表面涂NaCl鹽膜和未涂NaCl鹽膜的試樣放在石英坩堝內,在SX-4-10型箱式電阻爐內進行氧化試驗,其加熱溫度分別為700℃和900℃,間隔一定時間將石英坩堝取出,冷卻到室溫后,用ESJ-0524光電子天平(精度0.1mg)稱其質量變化。用NEOPHOT-1型金相顯微鏡、D/max2rB型X射線衍射儀(XRD)、AD2VANTPXP-381型X射線熒光儀及KYKY-2800型掃描電鏡(SEM/EDS)分析試樣表面與截面腐蝕產物的形貌、成分和物相。

2、試驗結果與分析

2.1、氧化動力學

  圖1為鋁青銅在700℃和900℃的氧化動力學曲線。可以看出,涂NaCl鹽膜的試樣氧化增重明大于未涂NaCl鹽膜試樣的氧化增重, 這意味著NaCl鹽膜能加速鋁青銅的高溫氧化過程,且溫度越高,氧化增重越大。從氧化動力學曲線特征看,初期氧化增重幅度較大,隨時間的延長其氧化增重幅度減小。

鋁青銅腐蝕動力學

圖1 鋁青銅腐蝕動力學

2.2、氧化腐蝕形貌

  圖2為鋁青銅組織。

鋁青銅的顯微組織

圖2 鋁青銅的顯微組織

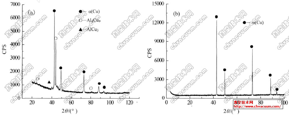
  可以看出,鋁青銅的鑄態組織是由不規則的白色區和黑色區構成,結合XRD(圖3(a))和EDS分析可知,白色區為α(Cu)的固溶體,黑色區主要由α(Cu)的固溶體、AlCu3和Al4Cu9相組成。由宏觀觀察可見,在700~900℃高溫作用下,未涂NaCl鹽膜的試樣表面形成一層均勻致密的黑色氧化膜, XRD分析表明,形成的氧化物主要是CuO、Cu2O和Al2O3,且氧化皮剝落后的試樣表面呈原色。而涂NaCl鹽膜的試樣表面形成的氧化膜較疏松,并且開裂和剝落較嚴重,氧化皮剝落后的試樣表面呈紫紅色,此時試樣表面僅有α(Cu)的衍射峰(見圖3(b)) 。

鋁青銅的X射線衍射圖

圖3  鋁青銅的X射線衍射圖

(a)原材料; (b)氧化物脫落后試樣表面(涂NaCl)